| # | Part | Description | Price | Req | Notes | Availability |
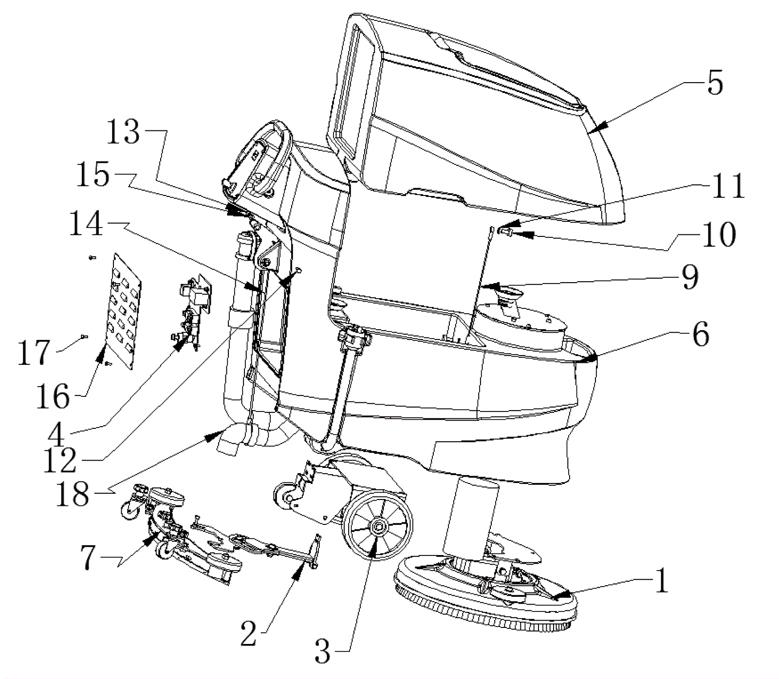
1 |
341-0001
|
Brush deck assembly |
$514.41
|
1 |
|
usually ships 16-19 days |
2 |
341-0002
|
Squeegee bracket assembly |
$59.32
|
1 |
|
ships same day |
3 |
341-0003
|
Wheel assembly |
$164.61
|
1 |
|
ships same day |
4 |
341-0004
|
Control board assembly |
$90.47
|
1 |
|
ships same day |
5 |
341-0005
|
Recovery tank assembly |
$327.83
|
1 |
|
usually ships 16-19 days |
6 |
341-0006
|
Solution tank assembly |
$595.68
|
1 |
|
usually ships 16-19 days |
7 |
341-0007
|
Squeegee assembly |
$258.27
|
1 |
|
ships same day |
9 |
341-0009
|
Tank cable |
$6.46
|
1 |
|
ships same day |
10 |
341-0010
|
Screw M8 x 20mm stainless steel |
$0.90
|
2 |
|
ships same day |
11 |
341-0011
|
Washer M8 stainless steel |
$0.90
|
2 |
|
ships same day |
12 |
341-0012
|
Screw M6 x 25mm stainless steel |
$0.90
|
1 |
|
ships same day |
13 |
341-0013
|
Nut lock stainless steel |
$0.90
|
1 |
|
ships same day |
14 |
341-0014
|
Squeegee lifting cable |
$4.60
|
1 |
|
ships same day |
15 |
341-0015
|
Nut M6 stainless steel |
$0.90
|
1 |
|
ships same day |
16 |
341-0016
|
Back cover |
$11.01
|
1 |
|
ships same day |
17 |
341-0017
|
Screw M5 x 12mm stainless steel |
$0.90
|
4 |
|
ships same day |
18 |
341-0018
|
Vacuum hose |
$14.25
|
1 |
|
ships same day |
N/S |
341-0248
|
24V 15ah offboard charger |
$281.65
|
1 |
|
ships same day |
N/S |
162-0042
|
12V 115Ah AGM battery (Group 31) (SNSR) |
$500.50
|
2 |
|
usually ships 27-29 days |
N/S |
341-0008
|
Water assembly |
$40.58
|
1 |
|
ships same day |