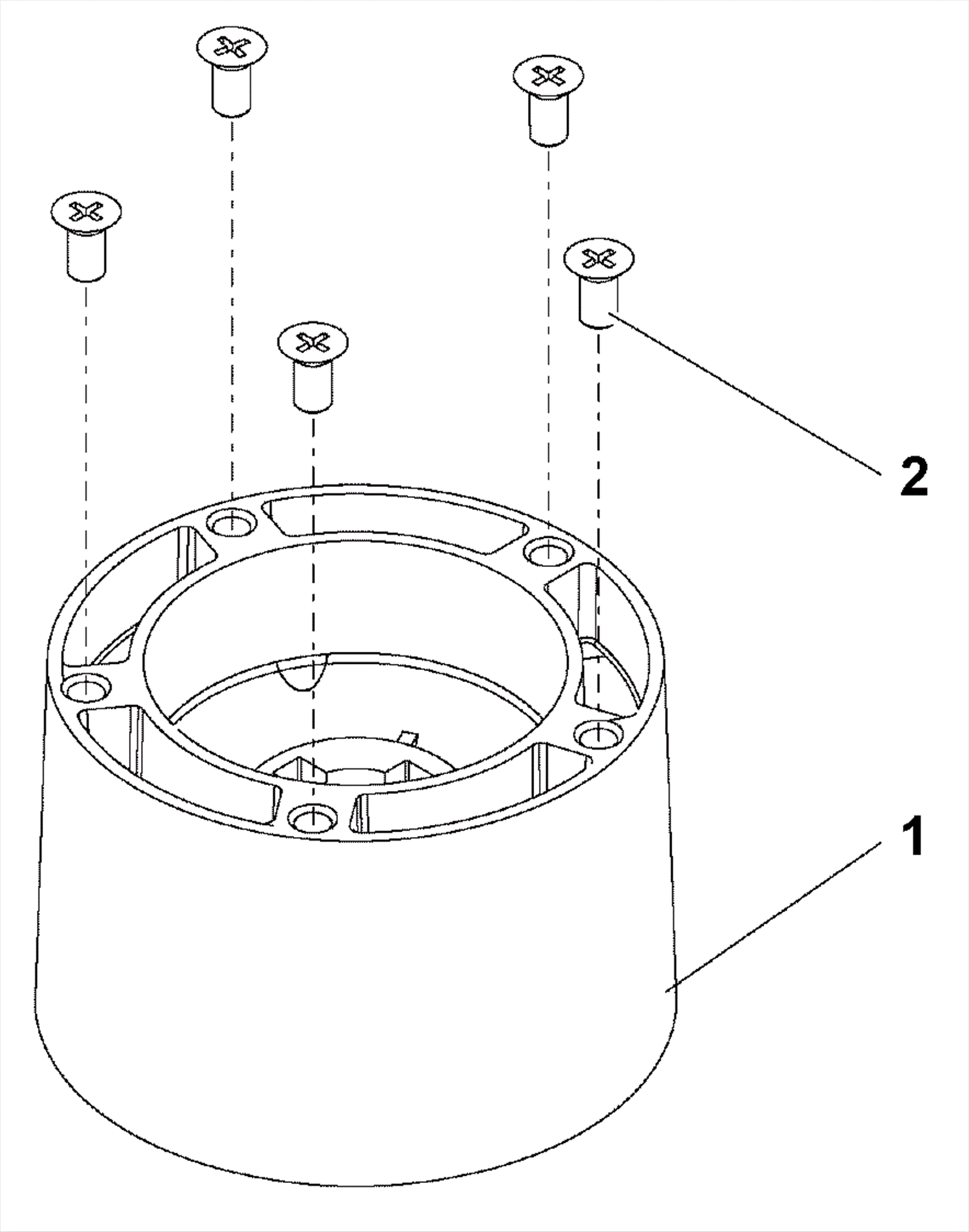
AERO 3500
Hub Assembly
Click to enlarge
#
Part
Description
Price
Req
Notes
Availability
1
292-5539
Hub assembly
$43.29
1
(includes 2)
usually ships 19-25 days
2
192-2994
Screw M5 x 10 countersunk head
$2.56
5
usually ships 1-5 days