| # | Part | Description | Price | Req | Notes | Availability |
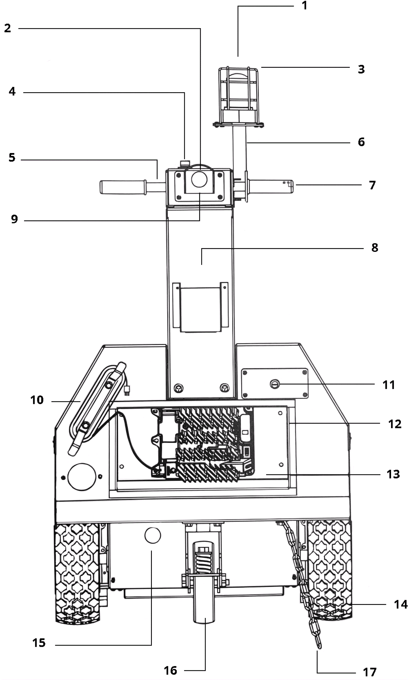
1 |
N/A
|
Not available |
Call for price
|
1 |
(strobe light) |
usually ships 3-26 days |
2 |
179-0003
|
Emergency stop button |
$57.85
|
1 |
|
ships same day |
3 |
286-0033
|
Guard |
$30.87
|
1 |
|
ships same day |
4a |
286-0041
|
Horn switch |
$37.42
|
1 |
|
ships same day |
4b |
286-0064
|
Switch actuator (OBSOLETE) |
$6.34
|
1 |
|
usually ships 8-9 days |
5 |
286-0066
|
Handle bar |
$35.83
|
1 |
|
ships same day |
6 |
286-0070
|
Upper arm weldment |
$42.44
|
1 |
|
ships same day |
7 |
179-0047
|
Handle grip |
$24.65
|
1 |
|
ships same day |
8 |
N/A
|
Not available |
Call for price
|
1 |
(remote control holder) |
usually ships 3-26 days |
9 |
286-0067
|
Emergency stop guard |
$70.32
|
1 |
|
ships same day |
10 |
286-0098
|
Coiled power cord IEC SX |
$72.41
|
1 |
|
usually ships 8-9 days |
11 |
179-0013
|
Key assembly |
$29.05
|
1 |
|
ships same day |
12 |
286-0091
|
Switch |
$25.63
|
1 |
|
ships same day |
13 |
286-0188
|
24V charger |
$753.17
|
1 |
|
usually ships 8-9 days |
14 |
179-0008
|
Tire and rim assembly |
$233.68
|
2 |
|
ships same day |
15a |
286-0068
|
Brake rod |
$78.63
|
1 |
|
ships same day |
15b |
286-0069
|
Ball knob |
$10.89
|
1 |
|
ships same day |
16 |
179-0023
|
8 inch swivel caster wheel |
$139.63
|
1 |
|
ships same day |
17 |
286-0072
|
Chain |
$3.01
|
1 |
|
usually ships 8-9 days |
N/S |
286-0189
|
Motor |
$1,754.34
|
1 |
|
usually ships 8-9 days |
N/S |
286-0094
|
124v motor brake unit |
$670.51
|
1 |
|
usually ships 8-9 days |