| # | Part | Description | Price | Req | Notes | Availability |
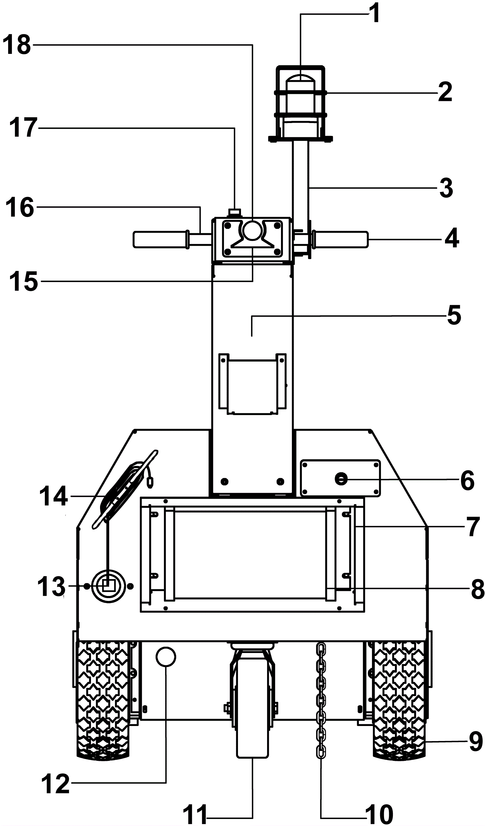
1 |
179-2281
|
Strobe LED light |
$176.57
|
1 |
|
ships same day |
2 |
286-0033
|
Guard |
$30.87
|
1 |
|
ships same day |
3 |
286-0070
|
Upper arm weldment |
$42.44
|
1 |
|
ships same day |
4 |
179-0047
|
Handle grip |
$24.65
|
2 |
|
ships same day |
5 |
N/A
|
Not available |
Call for price
|
1 |
(remote control holder) |
usually ships 3-26 days |
6a |
179-0013
|
Key assembly |
$29.05
|
1 |
|
ships same day |
6b |
286-0181
|
Key switch mounting cover DT |
$8.66
|
1 |
|
ships same day |
7 |
286-0091
|
Switch |
$25.63
|
1 |
|
ships same day |
8a |
286-0004
|
110V 10amp battery charger |
$1,319.43
|
1 |
(110V) |
ships same day |
9 |
179-0008
|
Tire and rim assembly |
$233.68
|
2 |
|
ships same day |
10 |
286-0072
|
Chain |
$3.01
|
1 |
|
usually ships 8-9 days |
11a |
179-0023
|
8 inch swivel caster wheel |
$139.63
|
1 |
(XD after version 1.7) |
ships same day |
11b |
179-0023
|
8 inch swivel caster wheel |
$139.63
|
1 |
(HD) |
ships same day |
12a |
286-0068
|
Brake rod |
$78.63
|
1 |
|
ships same day |
12b |
286-0069
|
Ball knob |
$10.89
|
1 |
(buy with 12a) |
ships same day |
13a |
286-0060
|
110V AC power box assembly with inlet |
$495.99
|
1 |
|
ships same day |
13b |
286-0060
|
110V AC power box assembly with inlet |
$495.99
|
1 |
|
ships same day |
14a |
286-0082
|
120V Power cord |
$36.63
|
1 |
(XD after version 1.7) |
ships same day |
14b |
286-0022
|
Charger cord |
$75.46
|
1 |
(HD) |
ships same day |
15 |
286-0067
|
Emergency stop guard |
$70.32
|
1 |
|
ships same day |
16 |
286-0066
|
Handle bar |
$35.83
|
1 |
|
ships same day |
17a |
286-0041
|
Horn switch |
$37.42
|
1 |
|
ships same day |
17b |
286-0064
|
Switch actuator (OBSOLETE) |
$6.34
|
1 |
|
usually ships 8-9 days |
17c |
286-0041
|
Horn switch |
$37.42
|
1 |
|
ships same day |