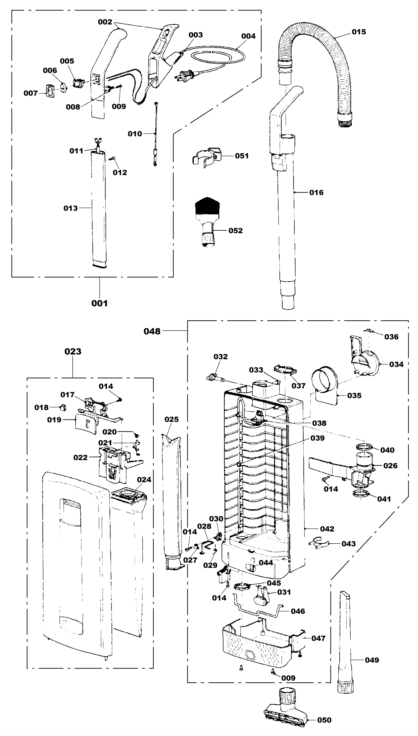
Filter Bag Housing and Handle Assembly
Click to enlarge
#
Part
Description
Price
Req
Notes
Availability
004
273-3167
Cord set
$100.65
1
usually ships 1-5 days
025
173-0094
Micro hygenic filter
$56.85
1
ships same day