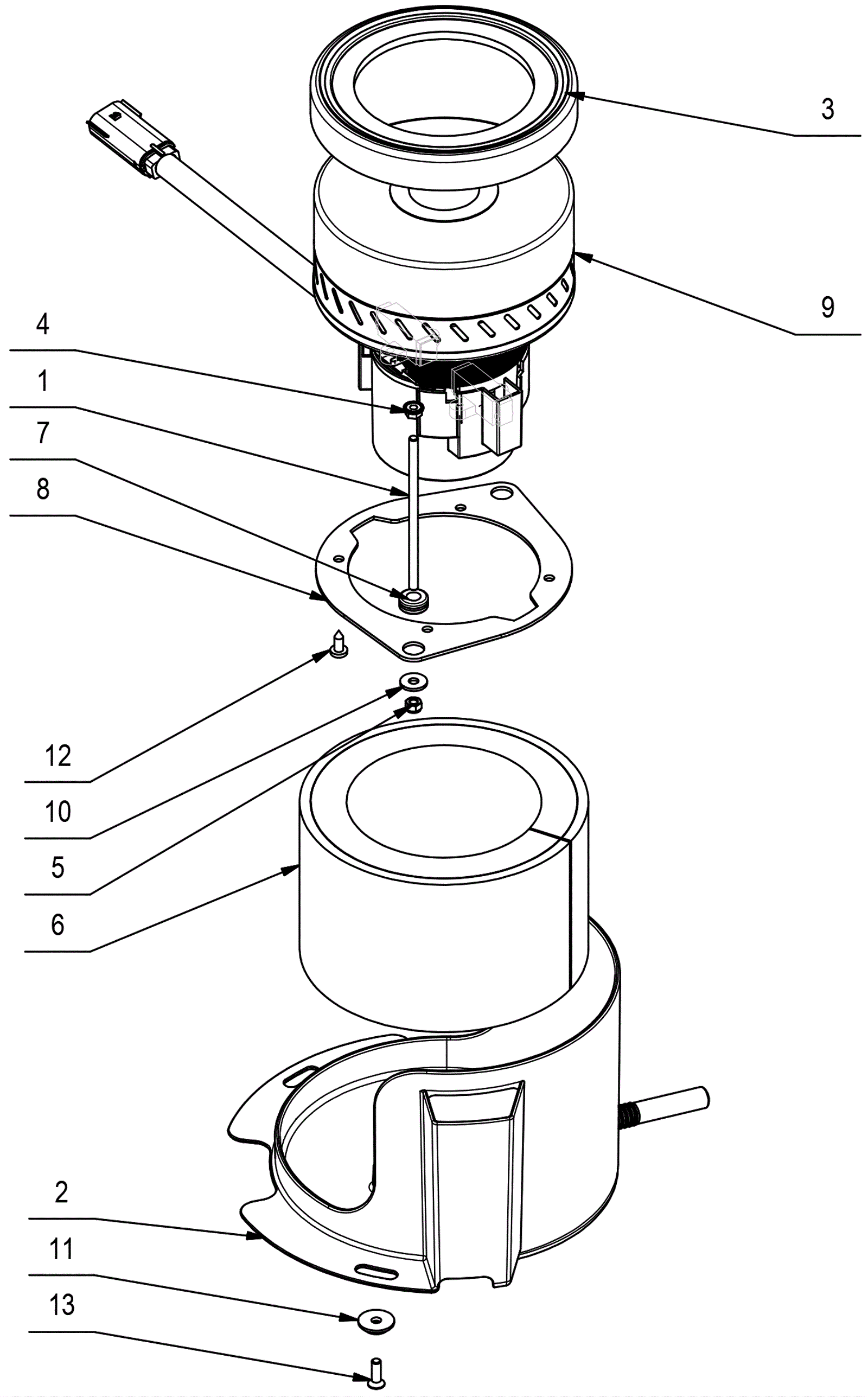
Suction Motor Assembly
Click to enlarge