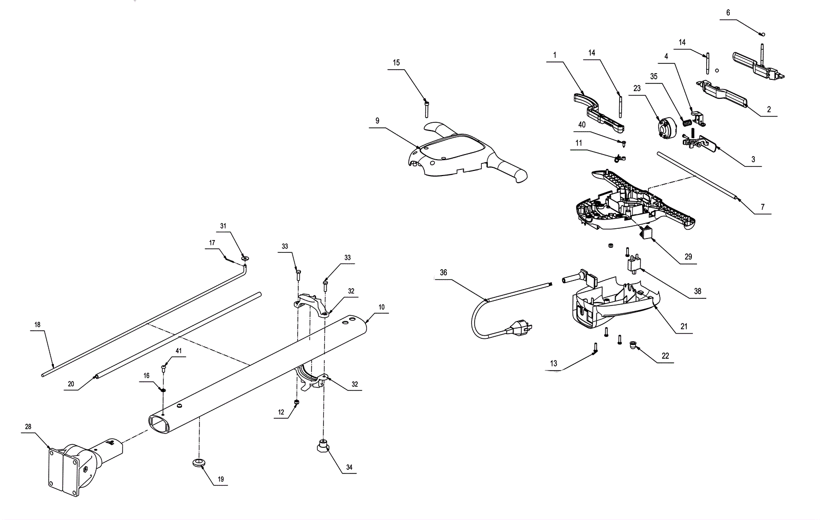
Handle Bar Assembly
Click to enlarge