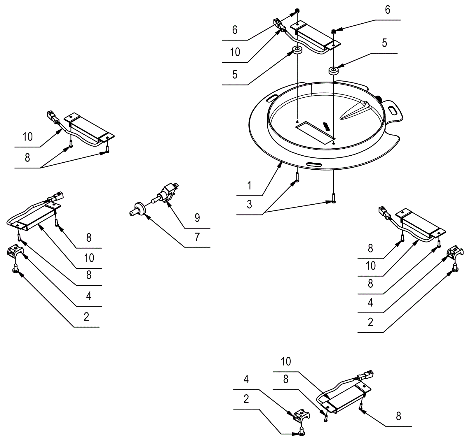
Service Lights Assembly
Click to enlarge