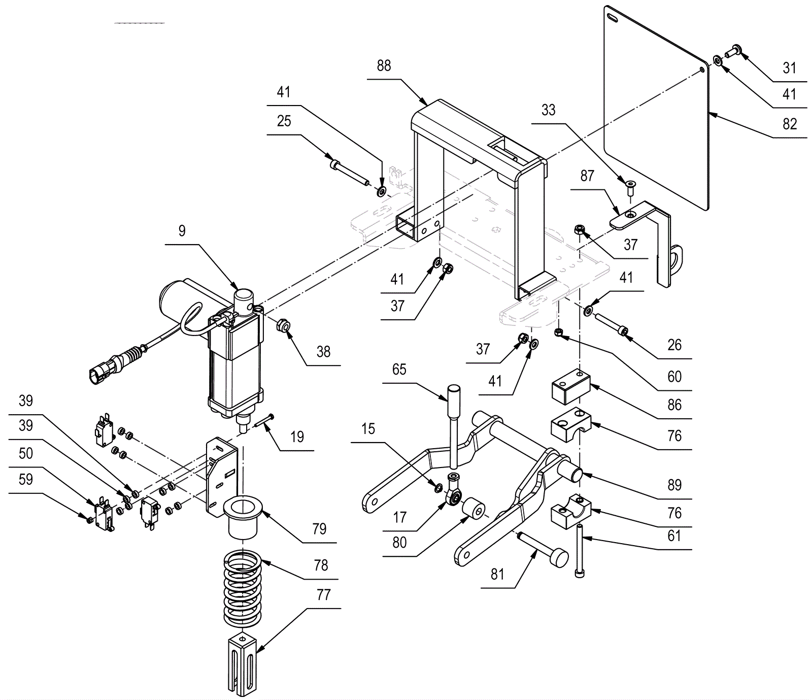
Rear Wheel Assembly - Part 1
Click to enlarge