# | Part | Description | Price | Req | Notes | Availability |
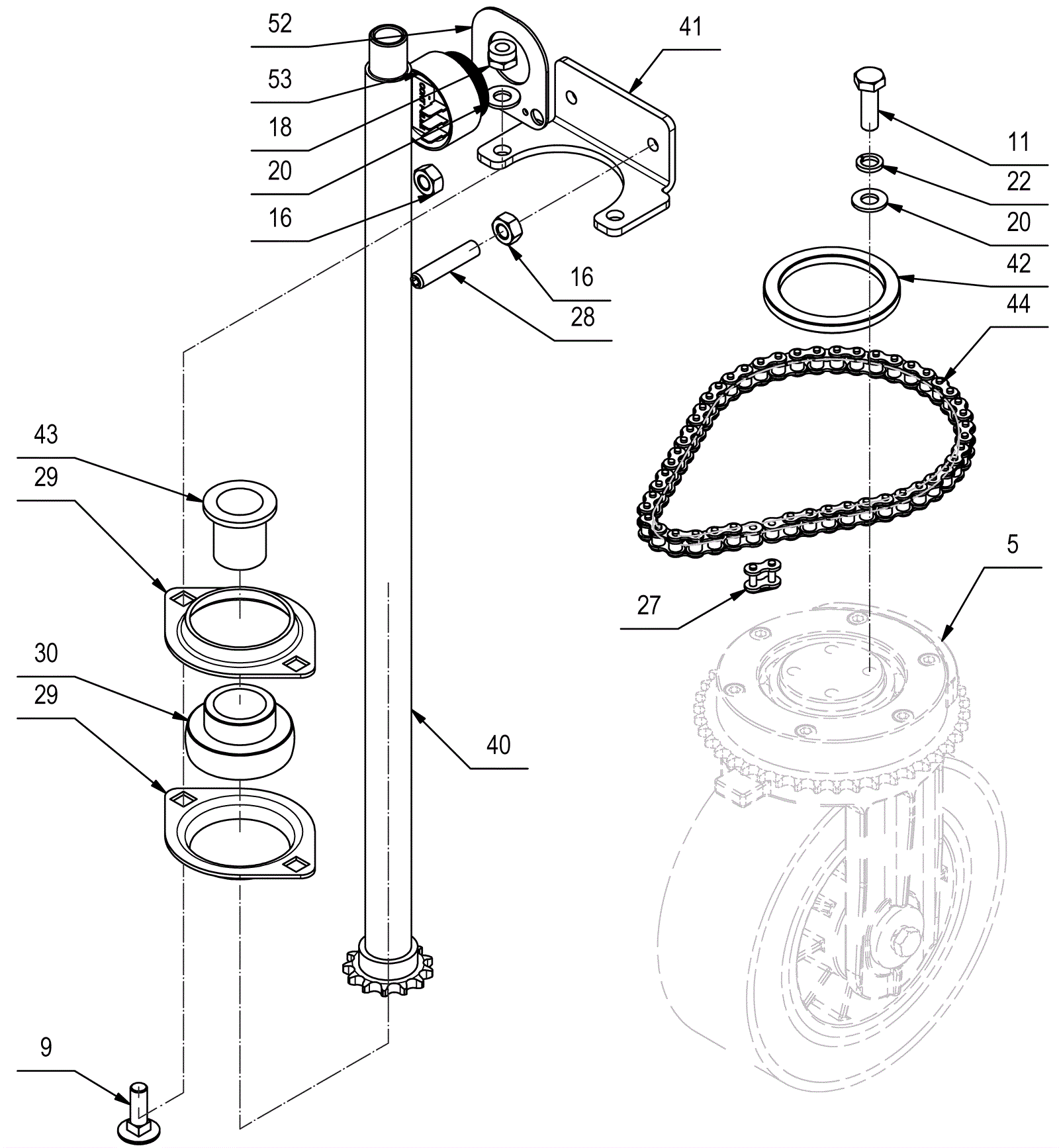
5 |
283-1250
|
PREASS. FRONT WHEEL MXR |
$1,398.49
|
1 |
|
usually ships 16-22 days |
9 |
283-1594
|
SCREW 8X25 UNI 5732 GALV. |
$4.58
|
2 |
|
usually ships 16-22 days |
11 |
283-1615
|
M8X25 HH SCREW UNI 5739 DIN 933(8.8)G |
$4.58
|
4 |
|
usually ships 16-22 days |
16 |
283-1718
|
NUT M8X6.5 UNI 5588 GALV. |
$4.58
|
3 |
|
usually ships 16-22 days |
18 |
283-1735
|
M8X8,5 AUTOLOCK.NUT UNI7474 DIN985 GA |
$4.58
|
6 |
|
usually ships 16-22 days |
20 |
283-1774
|
8X17X1,6 WASHER UNI 6592 GALV. |
$4.58
|
14 |
|
usually ships 16-22 days |
22 |
283-1779
|
WASHER 8X13X2.2 GROWER GALV. |
$4.58
|
4 |
|
ships same day |
27 |
283-1961
|
JOINT CHAIN 3/8 SIMPLE |
$9.45
|
1 |
|
usually ships 16-22 days |
28 |
283-1965
|
M8x40 EI UNI 5923 ZINC |
$2.84
|
2 |
|
usually ships 16-22 days |
29 |
283-2044
|
SUPPORT |
$7.05
|
2 |
|
usually ships 16-22 days |
30 |
283-2045
|
BEARING |
$86.04
|
1 |
|
usually ships 16-22 days |
40 |
283-2526
|
LOWER STEERING SHAFT MXR L = 553 D = |
$552.77
|
1 |
|
usually ships 16-22 days |
41 |
283-2529
|
Support |
$42.20
|
1 |
|
usually ships 16-22 days |
42 |
283-2533
|
SPACER D=65 d=50,2 S=5 S235 |
$38.80
|
1 |
|
usually ships 16-22 days |
43 |
283-2534
|
BUSHING D=35-25 d=22 S=31 NYLON |
$32.32
|
1 |
|
usually ships 16-22 days |
44 |
283-2539
|
CHAIN ISO 06B - 3/8 inch - 49 STEPS |
$57.53
|
1 |
|
usually ships 16-22 days |
53 |
283-2573
|
BUZZER HP4560 - 24V - 80 dB - 2900 Hz |
$82.30
|
1 |
|
usually ships 16-22 days |