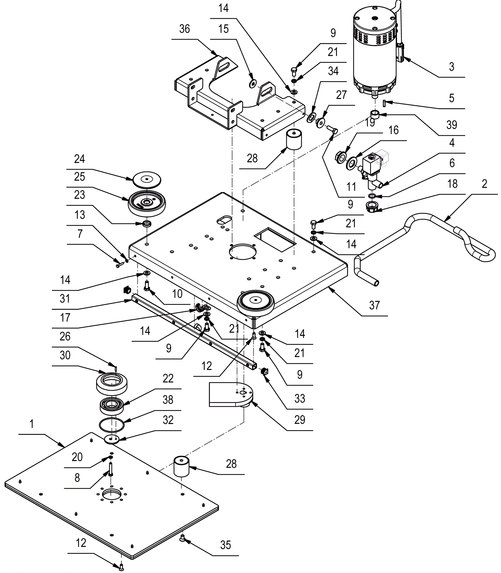
TRIDENT R22SC ORB
Base Assembly
Click to enlarge
#
Part
Description
Req
Notes
Availability
6
283-1590
O-RING 3056 (118) D.13.95X2.62
1
usually ships 16-22 days