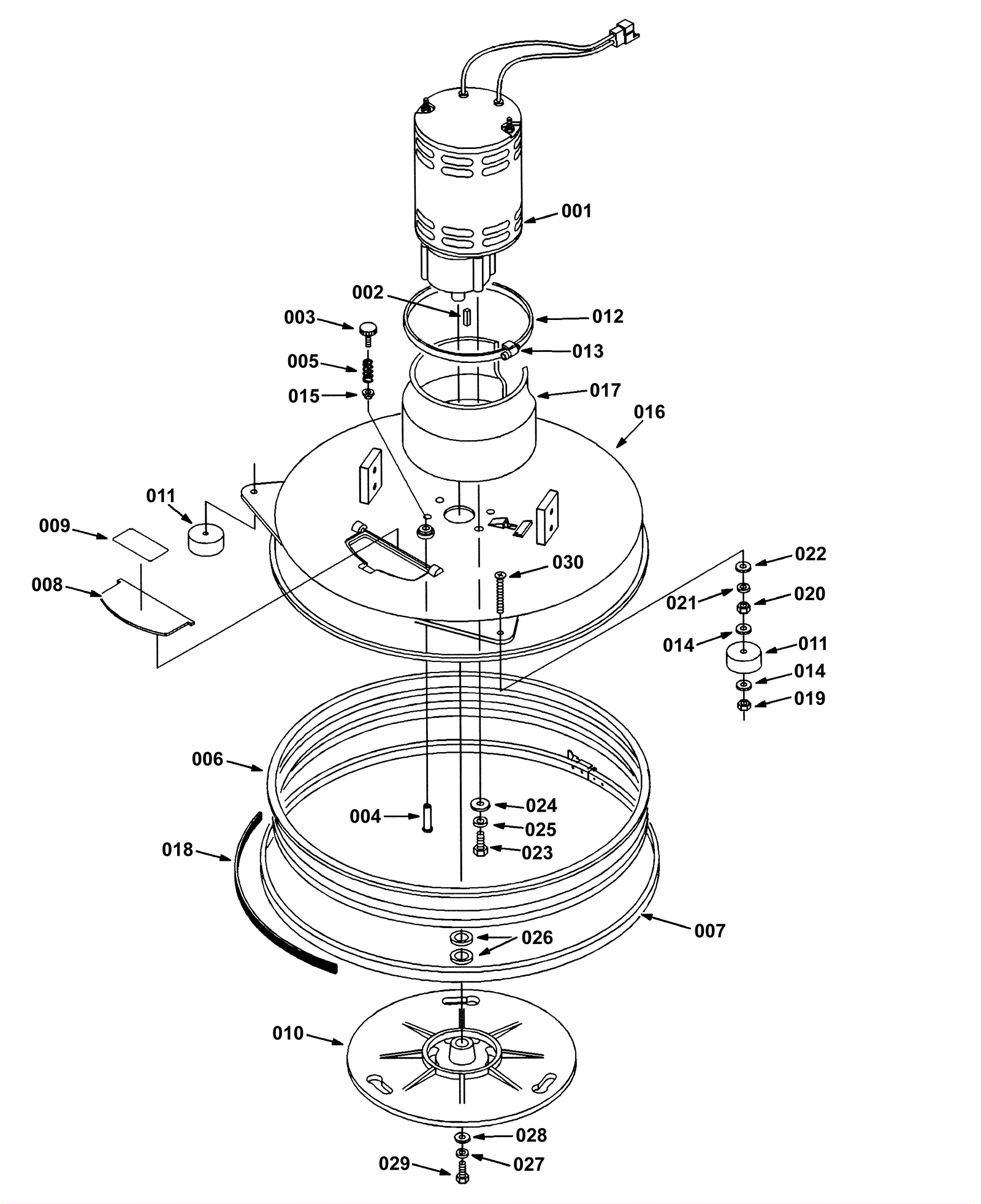
| # | Part | Description | Price | Req | Notes | Availability |
001 |
175-5451
|
24V brush motor assembly |
$2,018.72
|
1 |
|
ships same day |
002 |
175-4700
|
Square keyway |
$5.50
|
1 |
|
usually ships 10-13 days |
003 |
175-3718
|
Knob |
$5.28
|
1 |
|
ships same day |
004 |
175-4702
|
Pin (OBSOLETE) |
$9.46
|
1 |
|
usually ships 1-5 days |
005 |
N/A
|
Not available |
Call for price
|
1 |
(Spring) |
usually ships 3-26 days |
006 |
175-5475
|
Standard scrub head skirt (OBSOLETE) |
$178.20
|
1 |
|
usually ships 10-13 days |
007a |
175-5476
|
Skirt band assembly (OBSOLETE) |
$161.70
|
1 |
|
usually ships 10-13 days |
007b |
175-1429
|
Skirt strap assembly |
$39.82
|
1 |
|
usually ships 10-13 days |
007c |
175-1428
|
Adjustment band fastener |
$27.39
|
1 |
|
ships same day |
008 |
175-4707
|
Brush door with decal kit (OBSOLETE) |
$21.01
|
1 |
|
usually ships 1-5 days |
009 |
175-1238
|
Moving parts decal |
$5.83
|
1 |
|
usually ships 10-13 days |
010 |
175-4708
|
20 inch brush drive hub (OBSOLETE) |
$197.56
|
1 |
|
usually ships 10-13 days |
011 |
175-4710
|
Rubber wheel |
$23.87
|
2 |
|
usually ships 10-13 days |
012 |
175-5477
|
Stainless steel band |
$39.49
|
1 |
|
usually ships 10-13 days |
013 |
175-1428
|
Adjustment band fastener |
$27.39
|
1 |
|
ships same day |
014 |
999-1530
|
Washer 3/8 flat nylon |
$0.99
|
4 |
|
ships same day |
015 |
175-4701
|
Pin head |
$21.23
|
1 |
|
usually ships 10-13 days |
016 |
175-4706
|
20 inch(500mm) scrub head (OBSOLETE) |
$414.37
|
1 |
|
usually ships 1-5 days |
017 |
175-5478
|
Water deflector shroud |
$439.56
|
1 |
|
usually ships 1-5 days |
018 |
175-1430
|
Skid strip |
$191.07
|
1 |
|
usually ships 10-13 days |
019 |
999-1551
|
Nut M8-1.25 hex jam zinc plated |
$0.99
|
2 |
|
usually ships 1-5 days |
020 |
999-1053
|
Washer 5/16 internal star lock stainless steel |
$0.99
|
2 |
|
ships same day |
021 |
999-0024
|
Washer 5/16 flat stainless steel |
$1.34
|
2 |
|
ships same day |
022 |
999-1531
|
Screw 3/8-16 x 1 hex washer head zinc plated |
$3.84
|
4 |
|
usually ships 1-5 days |
023 |
999-0617
|
Washer 3/8 x 1 flat stainless steel |
$1.82
|
4 |
|
ships same day |
024 |
175-1862
|
Waist belt keeper |
$12.65
|
4 |
|
usually ships 1-5 days |
025 |
175-0406
|
Washer.77 flate stainless steel |
$5.28
|
2 |
|
usually ships 10-13 days |
026 |
175-1886
|
Green twist cap |
$92.29
|
1 |
|
usually ships 1-5 days |
027 |
999-0549
|
Washer 5/16 x 3/4 SAE flat stainless steel |
$0.99
|
1 |
|
ships same day |
028 |
999-0424
|
Bolt 5/16-18 x 1 hex head stainless steel |
$0.99
|
1 |
|
ships same day |
029 |
175-4711
|
Screw M8-1.25 x 5mm |
$19.36
|
2 |
|
usually ships 10-13 days |