| # | Part | Description | Price | Req | Notes | Availability |
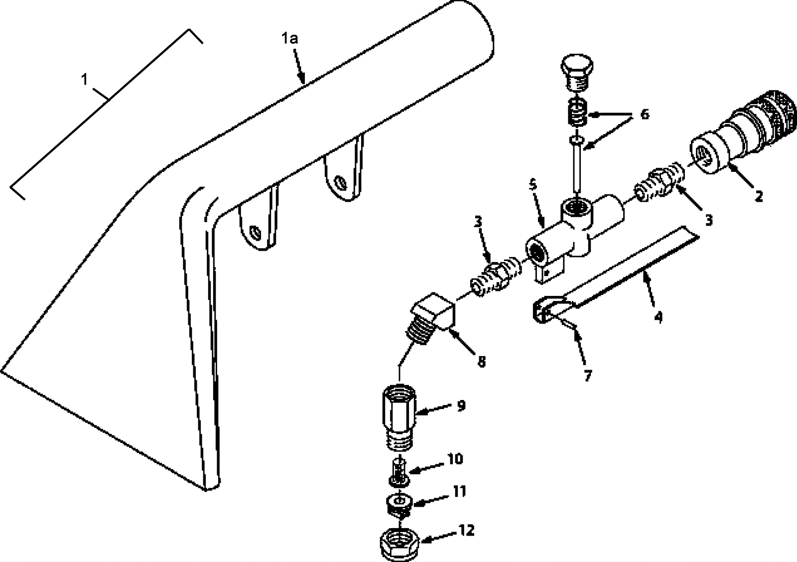
1 |
175-3567
|
5 inch hand tool assembly |
$527.01
|
1 |
(includes 1a-14) |
usually ships 10-13 days |
1a |
175-3568
|
5 inch hand tool |
$178.75
|
1 |
|
usually ships 10-13 days |
2 |
991-8158
|
1/4 inch BH2-60 female coupler (mate to QD40) |
$23.00
|
1 |
|
ships same day |
3 |
175-6239
|
1/4 inch nipple |
$5.50
|
2 |
|
ships same day |
4 |
175-3569
|
Hand tool trigger |
$32.56
|
1 |
|
usually ships 10-13 days |
5 |
175-3570
|
Valve |
$107.47
|
1 |
|
usually ships 10-13 days |
6 |
175-3571
|
Valve pin and spring (OBSOLETE) |
$26.84
|
1 |
|
usually ships 10-13 days |
7 |
175-4841
|
Roll pin |
$3.30
|
1 |
|
usually ships 10-13 days |
8 |
175-6031
|
Straight jet fitting |
$8.25
|
1 |
|
usually ships 10-13 days |
9 |
175-3572
|
Spray body |
$10.23
|
1 |
|
usually ships 1-5 days |
10 |
175-1802
|
Mesh screen filter |
$23.87
|
1 |
|
ships same day |
11 |
175-3573
|
Spray tip |
$22.11
|
1 |
|
usually ships 10-13 days |
12 |
175-1834
|
Spray nozzle cap |
$6.49
|
1 |
|
usually ships 10-13 days |