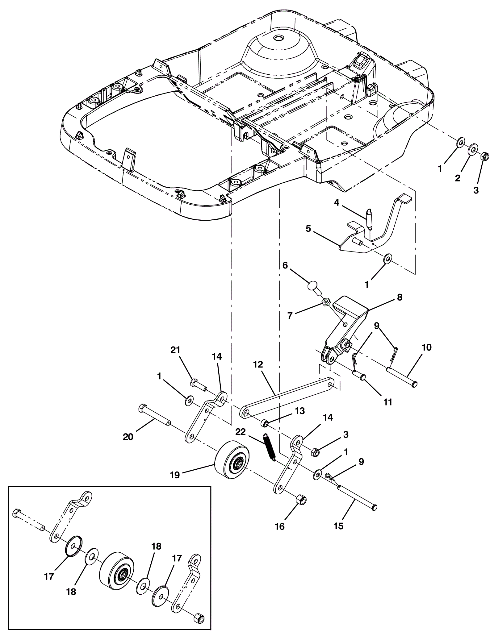
| # | Part | Description | Price | Req | Notes | Availability |
1 |
999-1530
|
Washer 3/8 flat nylon |
$0.99
|
3 |
|
ships same day |
2 |
999-0024
|
Washer 5/16 flat stainless steel |
$1.34
|
1 |
|
ships same day |
3 |
999-0496
|
Nut M8-1.25 nylon insert lock stainless steel |
$1.34
|
2 |
|
ships same day |
4 |
175-3113
|
Extension spring |
$5.50
|
1 |
|
usually ships 10-13 days |
5 |
275-5276
|
Wheel release pedal lever |
$60.83
|
1 |
|
usually ships 1-5 days |
6 |
999-0919
|
Bolt 5/16-18 x 1 1/4 carriage head stainless steel |
$1.39
|
1 |
|
ships same day |
7 |
999-0430
|
Nut 5/16-18 hex jam plain finish |
$0.99
|
1 |
|
ships same day |
8 |
275-5278
|
Foot pedal |
$37.40
|
1 |
|
usually ships 1-5 days |
9 |
175-7107
|
Cotter hair pin |
$3.30
|
3 |
|
usually ships 10-13 days |
10 |
275-5277
|
Clevis pin (Tennant Industrial) |
$5.67
|
1 |
|
usually ships 10-13 days |
11 |
175-0775
|
Clevis pin (Tennant Industrial) |
$6.67
|
1 |
|
ships same day |
12 |
275-5279
|
Linkage arm |
$41.03
|
1 |
|
usually ships 1-5 days |
13 |
175-2263
|
Sleeve |
$4.22
|
1 |
|
usually ships 10-13 days |
14 |
275-5281
|
Transport wheel bracket |
$33.88
|
2 |
|
usually ships 10-13 days |
15 |
275-5280
|
Clevis pin |
$8.14
|
1 |
|
usually ships 1-5 days |
16 |
999-0513
|
Nut 3/8-16 nylon insert lock type NE stainless steel |
$3.96
|
1 |
|
ships same day |
17 |
275-5282
|
Spacer (OBSOLETE) |
$1.45
|
2 |
(replaced by 275-5283) |
usually ships 1-5 days |
18 |
999-0559
|
Washer 1/2 x 1/4 flat stainless steel |
$0.99
|
2 |
(replaced by 275-5283) |
ships same day |
19 |
275-5283
|
Rubber wheel (gray) |
$25.08
|
1 |
|
usually ships 10-13 days |
20 |
999-0390
|
Bolt 3/8-16 x 2 1/2 hex hd grade 5 zinc plated |
$1.19
|
1 |
|
ships same day |
21 |
999-0501
|
Bolt M8-1.25 x 25mm hex head full thread stainless steel |
$2.64
|
1 |
|
ships same day |
22 |
175-7002
|
Extension spring |
$5.50
|
1 |
|
usually ships 10-13 days |