| # | Part | Description | Price | Req | Notes | Availability |
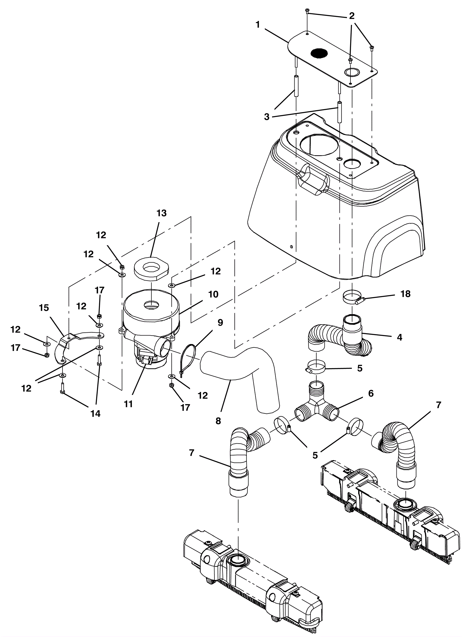
1 |
275-2385
|
Plate |
$88.88
|
1 |
|
usually ships 10-13 days |
2 |
999-1090
|
Screw M5-.8 x 10mm pan head phillips zinc plated |
$0.99
|
3 |
|
ships same day |
3 |
175-1919
|
Spacer |
$14.08
|
2 |
|
usually ships 10-13 days |
4 |
275-9142
|
Upper squeegee vacuum hose |
$23.98
|
1 |
|
ships same day |
5 |
997-2000
|
Hose clamp |
$2.37
|
3 |
|
ships same day |
6 |
275-5268
|
1 1/2 inch 3 way barbed PVC fitting |
$5.28
|
1 |
|
usually ships 10-13 days |
7 |
275-9143
|
Lower squeegee vacuum hose |
$22.22
|
2 |
|
usually ships 10-13 days |
8 |
175-3401
|
Vacuum motor exhaust hose |
$77.77
|
1 |
|
ships same day |
9 |
175-7795
|
Cable tie |
$5.15
|
1 |
|
ships same day |
10a |
275-9134
|
120V 2 stage vacuum motor |
$300.74
|
1 |
(includes 11-12) (OEM) |
ships same day |
10b |
991-9278
|
120V 2 stage vacuum motor dual ball tangential |
$171.03
|
1 |
(NON-OEM) |
ships same day |
11 |
375-1317
|
Carbon brush kit |
$27.83
|
1 |
|
usually ships 10-13 days |
12 |
999-0335
|
Washer 1/4 x 5/8 SAE flat stainless steel |
$0.99
|
7 |
|
ships same day |
13 |
675-9895
|
Vacuum motor gasket |
$9.79
|
1 |
|
usually ships 10-13 days |
14 |
999-1087
|
Bolt M6-1 x 25mm hex head stainless steel |
$0.99
|
2 |
|
ships same day |
15 |
275-2386
|
Vacuum motor mounting plate |
$46.64
|
1 |
|
ships same day |
17 |
999-0469
|
Nut M6-1 nylon insert lock zinc plated |
$1.32
|
4 |
|
ships same day |
18 |
997-2000
|
Hose clamp |
$2.37
|
1 |
|
ships same day |