| # | Part | Description | Price | Req | Notes | Availability |
1 |
N/A
|
Not available |
Call for price
|
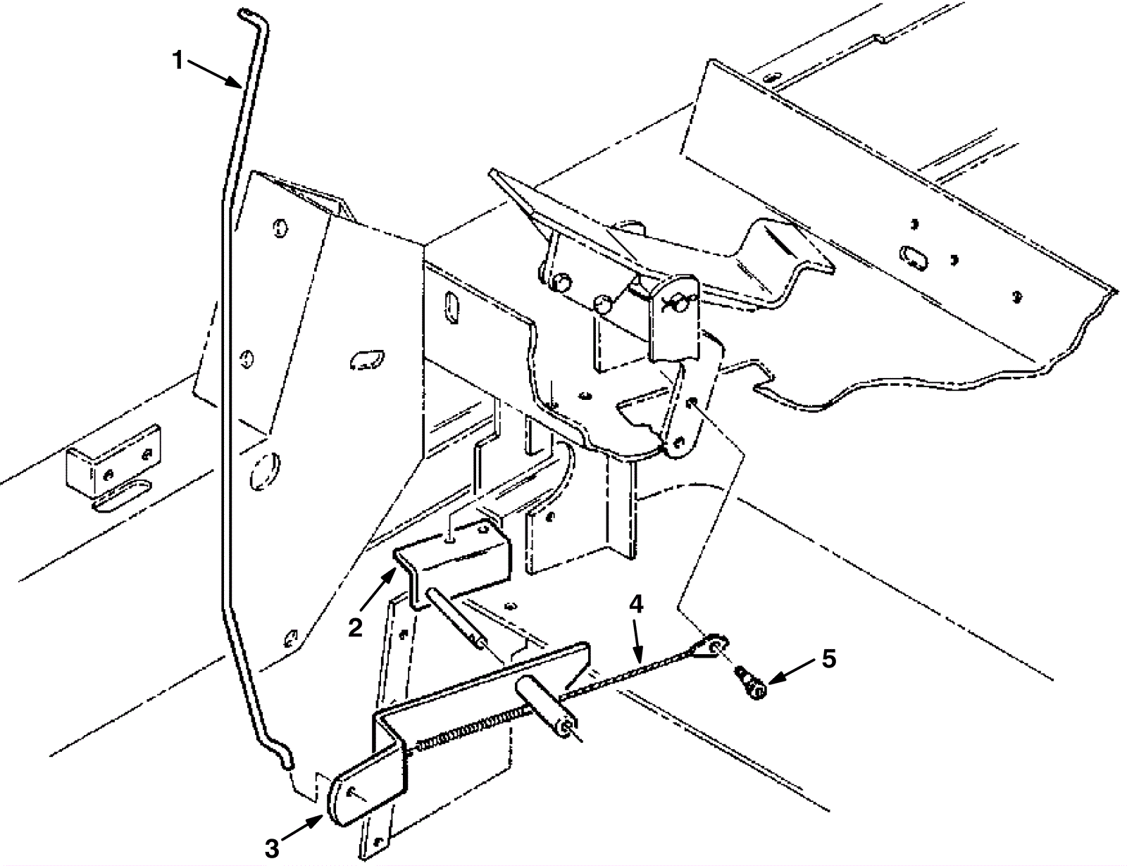
1 |
(Speed limoter rod) |
usually ships 3-26 days |
2 |
N/A
|
Not available |
Call for price
|
1 |
(Speed limiter pivot) |
usually ships 3-26 days |
3 |
N/A
|
Not available |
Call for price
|
1 |
(Speed limiter lever) |
usually ships 3-26 days |
4 |
N/A
|
Not available |
Call for price
|
1 |
(Speed limiter cable) |
usually ships 3-26 days |
5 |
275-8741
|
BOLT, SHLD, .38D X 0.38, .31-18 (Tennant Industrial) |
$32.34
|
1 |
|
usually ships 1-5 days |