| # | Part | Description | Price | Req | Notes | Availability |
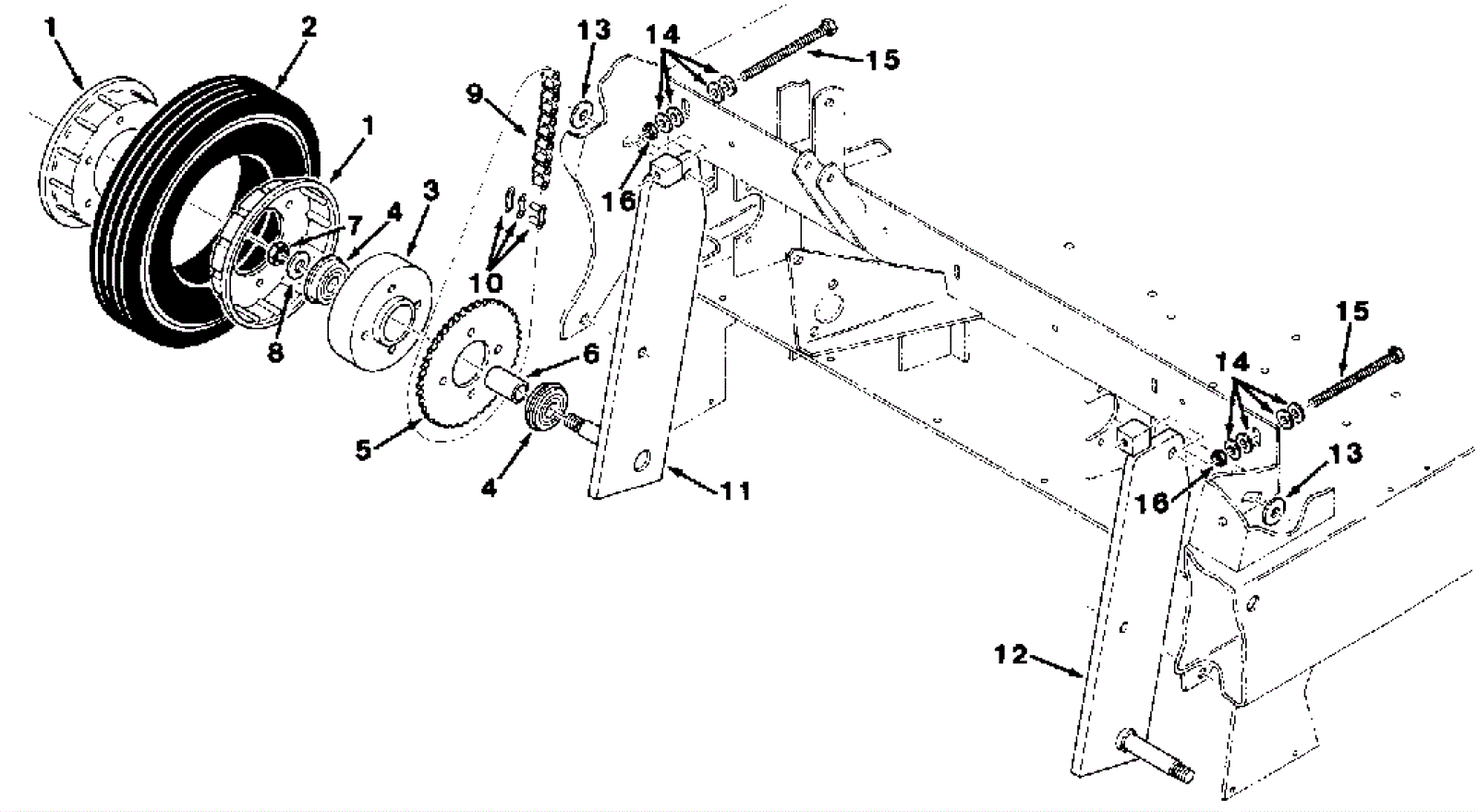
1 |
375-5075
|
Half wheel (OBSOLETE) |
Call for price
|
4 |
|
usually ships 10-13 days |
2 |
375-5076
|
Tire (OBSOLETE) |
Call for price
|
2 |
|
usually ships 10-13 days |
3 |
375-5077
|
Bearing housing (OBSOLETE) |
Call for price
|
2 |
|
usually ships 10-13 days |
4 |
375-5078
|
Ball bearing |
$5.28
|
4 |
|
usually ships 10-13 days |
5 |
375-5079
|
Sprocket |
$62.81
|
2 |
|
usually ships 10-13 days |
6 |
375-5080
|
Sleeve |
$138.33
|
2 |
|
usually ships 10-13 days |
7 |
999-0403
|
Nut 5/8-18 nylon insert lock grade 8 yellow zinc |
$6.27
|
2 |
|
ships same day |
8 |
275-0710
|
Flat washer |
$5.28
|
2 |
|
usually ships 10-13 days |
9 |
575-5538
|
CHAIN, RLR, 40 X 071 PITCHES (Tennant Industrial) |
$75.32
|
2 |
|
usually ships 10-13 days |
10 |
175-0583
|
LINK, CHAIN, RLR, 40 (Tennant Industrial) |
$6.67
|
2 |
|
usually ships 10-13 days |
11 |
375-5081
|
Right hand support plate (OBSOLETE) |
Call for price
|
1 |
|
usually ships 10-13 days |
12 |
375-5082
|
Left hand support plate (OBSOLETE) |
Call for price
|
1 |
|
usually ships 10-13 days |
13 |
275-0464
|
Washer 1/2 flat belleville |
$5.28
|
2 |
|
usually ships 10-13 days |
14 |
175-2305
|
Washer |
$5.28
|
8 |
|
ships same day |
15 |
375-5083
|
Full head screw (OBSOLETE) |
Call for price
|
2 |
|
usually ships 10-13 days |
16 |
999-1281
|
Nut M10-1.25 hex fine thread |
$0.99
|
2 |
|
usually ships 1-5 days |