| # | Part | Description | Price | Req | Notes | Availability |
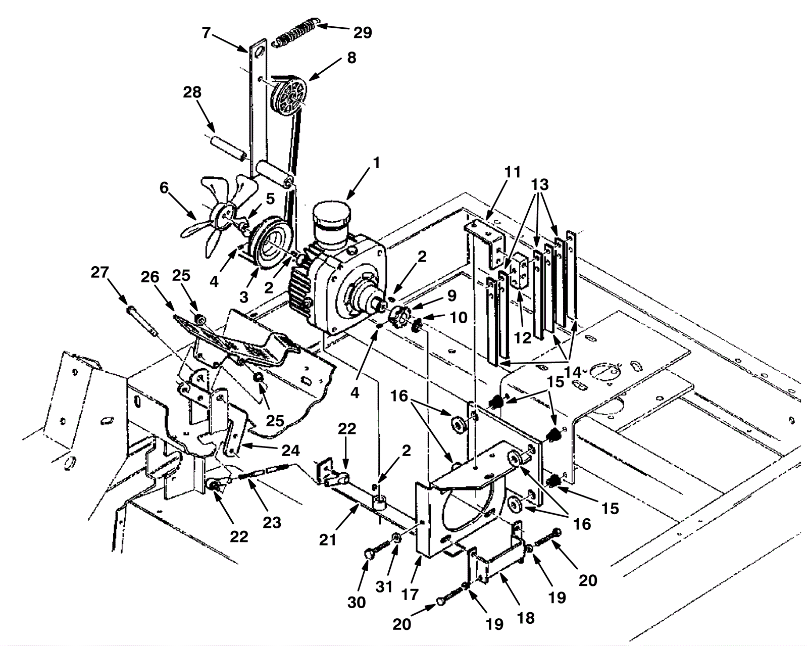
1 |
375-5058
|
Transmission (OBSOLETE) |
Call for price
|
1 |
|
usually ships 10-13 days |
2 |
375-5059
|
Woodruff key (OBSOLETE) |
Call for price
|
3 |
|
usually ships 10-13 days |
3 |
375-5060
|
Transmission sheave (OBSOLETE) |
Call for price
|
1 |
|
usually ships 10-13 days |
4 |
275-1831
|
SCREW, SET, .25-20 X 0.31, NL (Tennant Industrial) |
$8.17
|
2 |
|
usually ships 1-5 days |
5 |
375-5061
|
Transmission sleeve (OBSOLETE) |
Call for price
|
1 |
|
usually ships 10-13 days |
6 |
375-5062
|
Cooling fan (OBSOLETE) |
Call for price
|
1 |
|
usually ships 10-13 days |
7 |
375-5063
|
Idler arm (OBSOLETE ) |
Call for price
|
1 |
|
usually ships 10-13 days |
8 |
175-8973
|
Sheave |
$71.39
|
1 |
|
usually ships 1-5 days |
13 |
275-2052
|
SPRING, FLAT, .06, 0.75W X 07.8L (Tennant Industrial) |
$21.50
|
3 |
|
usually ships 1-5 days |
15 |
175-2429
|
Vibration isolator |
$15.40
|
4 |
|
usually ships 10-13 days |
16 |
275-3214
|
WASHER, FLAT, 0.39B 1.38D .19, STL, PL (Tennant Industrial) |
$6.67
|
4 |
|
usually ships 1-5 days |
19 |
275-2899
|
NUT, HEX, STD, .31-18 (Tennant Industrial) |
$4.17
|
2 |
|
usually ships 10-13 days |
20 |
999-0178
|
Bolt 5/16-18 x 2 hex head grade 5 zinc plated |
$0.54
|
2 |
|
ships same day |
22 |
575-6077
|
ROD-END, 0.31-24RH FEM 0.31-24STUD (Tennant Industrial) |
$87.68
|
2 |
|
usually ships 10-13 days |
25 |
475-9801
|
BUSHING, FLNG, 0.50B 0.56D 0.22L, NYL (Tennant Industrial) |
$9.50
|
2 |
|
usually ships 10-13 days |
26 |
575-9145
|
PEDAL, PROPEL, MACH (Tennant Industrial) |
$96.53
|
1 |
|
usually ships 10-13 days |
27 |
175-3280
|
Clevis pin |
$6.49
|
1 |
|
usually ships 10-13 days |
29 |
175-6921
|
Extension spring |
$12.10
|
1 |
|
usually ships 10-13 days |
30 |
475-9514
|
SCREW, HEX, .38-16 X 2.00, FL (Tennant Industrial) |
$8.84
|
1 |
|
usually ships 10-13 days |
31 |
475-7435
|
NUT, HEX, JAM, .38-16 (Tennant Industrial) |
$1.00
|
1 |
|
usually ships 10-13 days |