| # | Part | Description | Price | Req | Notes | Availability |
1 |
N/A
|
Not available |
Call for price
|
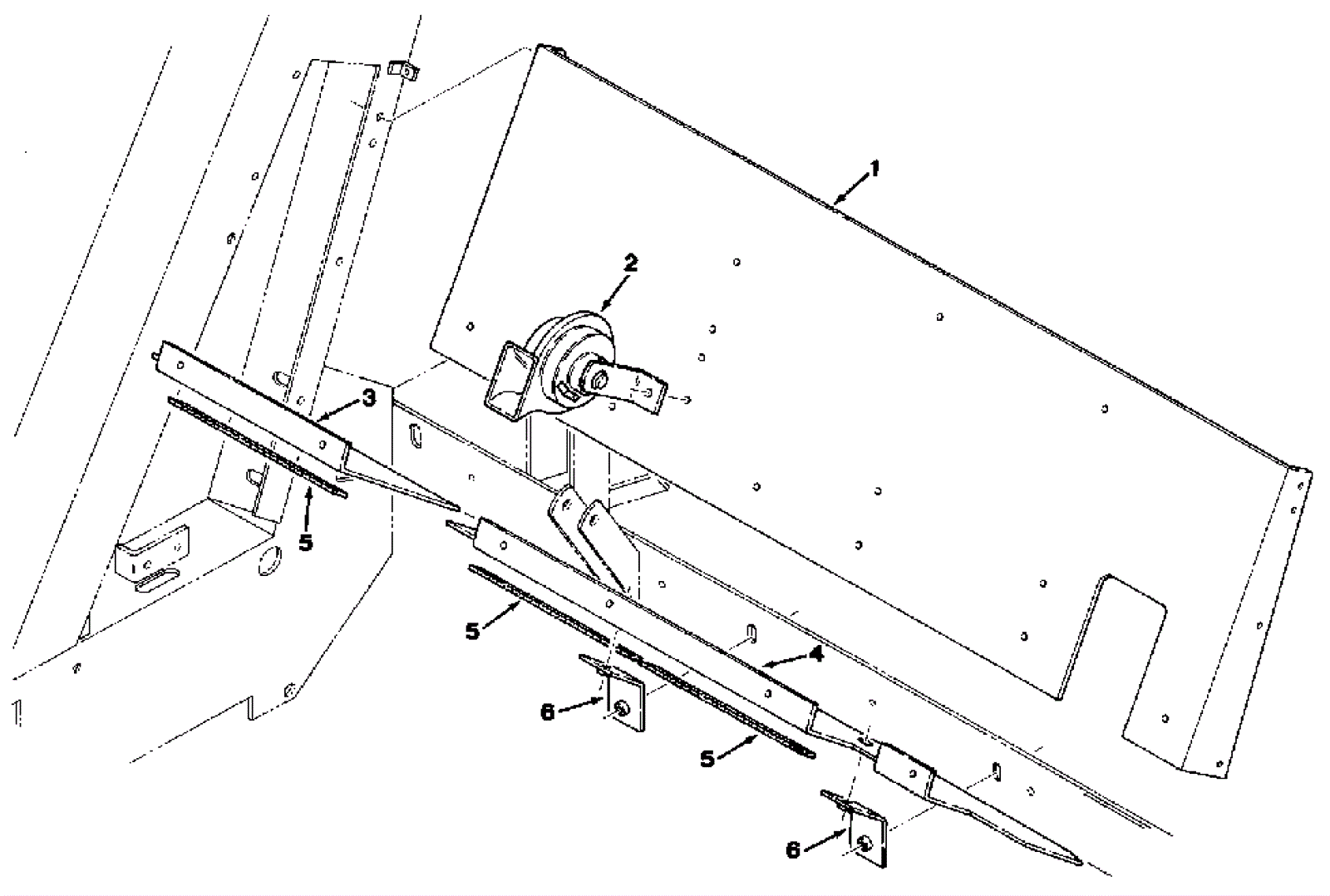
1 |
(Front support partition) |
usually ships 3-26 days |
2 |
N/A
|
Not available |
Call for price
|
1 |
(Horn) |
usually ships 3-26 days |
3 |
N/A
|
Not available |
Call for price
|
1 |
(R.H floor panel) |
usually ships 3-26 days |
4 |
N/A
|
Not available |
Call for price
|
1 |
(L.H floor panel) |
usually ships 3-26 days |
5 |
N/A
|
Not available |
Call for price
|
3 |
(Foam rubber seal) |
usually ships 3-26 days |
6 |
N/A
|
Not available |
Call for price
|
2 |
(Bracket) |
usually ships 3-26 days |