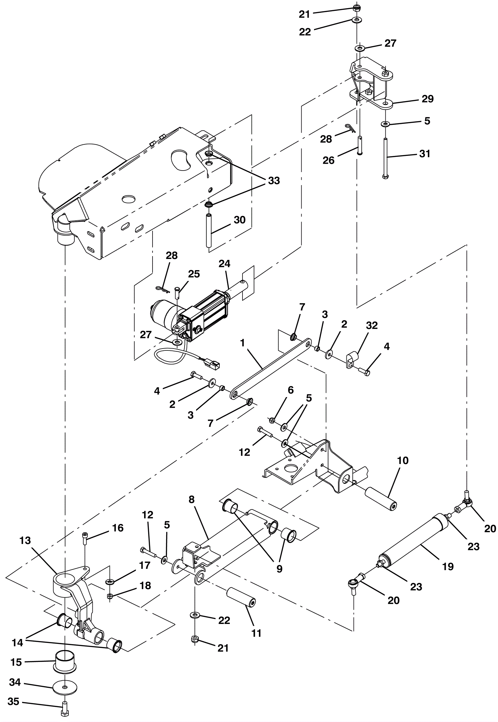
| # | Part | Description | Price | Req | Notes | Availability |
1 |
275-7826
|
Upper link |
$24.42
|
1 |
|
usually ships 10-13 days |
2 |
175-7920
|
Washer M8 flat stainless steel |
$4.49
|
2 |
|
ships same day |
3 |
175-2263
|
Sleeve |
$4.22
|
2 |
|
usually ships 10-13 days |
4 |
999-0501
|
Bolt M8-1.25 x 25mm hex head full thread stainless steel |
$2.64
|
2 |
|
ships same day |
5 |
999-0355
|
Washer 3/8 x 7/8 SAE flat stainless steel |
$0.99
|
5 |
|
ships same day |
6 |
999-0496
|
Nut M8-1.25 nylon insert lock stainless steel |
$1.34
|
1 |
|
ships same day |
7 |
275-7632
|
Flanged bushing (Tennant Industrial) |
$19.17
|
2 |
|
usually ships 10-13 days |
8 |
275-7827
|
Lift kit |
$253.88
|
1 |
(includes 9) |
usually ships 1-5 days |
9 |
275-7828
|
Flanged bushing (Tennant Industrial) |
$57.84
|
2 |
|
usually ships 10-13 days |
10 |
275-7829
|
Pivot pin |
$43.01
|
1 |
|
usually ships 10-13 days |
11 |
275-7830
|
Pivot pin |
$36.63
|
1 |
|
usually ships 10-13 days |
12 |
999-0787
|
Bolt M8-1.25 x 40mm hex head full thread stainless steel |
$2.48
|
2 |
|
ships same day |
13 |
275-7831
|
Pivot arm kit |
$402.27
|
1 |
(includes 14-18) |
usually ships 1-5 days |
14 |
275-7828
|
Flanged bushing (Tennant Industrial) |
$57.84
|
2 |
|
usually ships 10-13 days |
15 |
275-7833
|
Flanged bushing |
$18.81
|
1 |
|
usually ships 10-13 days |
16 |
175-0602
|
Screw M8-1.25 x 25mm socket |
$4.49
|
1 |
|
usually ships 10-13 days |
17 |
999-0355
|
Washer 3/8 x 7/8 SAE flat stainless steel |
$0.99
|
1 |
|
ships same day |
18 |
999-0496
|
Nut M8-1.25 nylon insert lock stainless steel |
$1.34
|
1 |
|
ships same day |
19 |
275-7834
|
Replacement spring assembly |
$505.78
|
1 |
(includes 20-23) |
usually ships 10-13 days |
20 |
175-0779
|
ROD-END, M10 X 1.5RH FEM M10 X 1.5STUD (Tennant Industrial) |
$79.35
|
2 |
|
usually ships 10-13 days |
21 |
999-1120
|
Nut M10-1.5 nylon insert lock stainless steel |
$3.92
|
2 |
|
ships same day |
22 |
999-0355
|
Washer 3/8 x 7/8 SAE flat stainless steel |
$0.99
|
2 |
|
ships same day |
23 |
999-1625
|
Nut M10-1.5 hex jam stainless steel |
$1.54
|
2 |
|
ships same day |
24 |
275-7836
|
Actuator kit |
$655.27
|
1 |
(includes 25-28) |
usually ships 10-13 days |
25 |
275-2753
|
PIN, CLEVIS, 0.38D X 1.13L (Tennant Industrial) |
$6.67
|
1 |
|
usually ships 10-13 days |
26 |
173-1595
|
Clevis pin (OBSOLETE) |
$4.88
|
1 |
|
usually ships 10-13 days |
27 |
999-0355
|
Washer 3/8 x 7/8 SAE flat stainless steel |
$0.99
|
2 |
|
ships same day |
28 |
175-2117
|
Cotter pin |
$5.28
|
2 |
|
usually ships 10-13 days |
29 |
275-7837
|
Actuator lift arm assembly |
$81.95
|
1 |
|
usually ships 1-5 days |
30 |
275-7838
|
Sleeve |
$11.00
|
1 |
|
usually ships 1-5 days |
31 |
999-1384
|
Screw M8-1.25 x 120mm hex head full thread 8.8 grade |
$6.71
|
1 |
|
ships same day |
32 |
175-3005
|
P clamp |
$4.62
|
1 |
|
usually ships 10-13 days |
33 |
275-7632
|
Flanged bushing (Tennant Industrial) |
$19.17
|
2 |
|
usually ships 10-13 days |
34 |
275-7839
|
Washer .48 x 2.50 x .12 flat stainless steel |
$8.25
|
1 |
|
usually ships 1-5 days |
35 |
999-6696
|
Bolt M12-1.75 x 30mm stainless steel hex cap screw |
$5.19
|
1 |
|
ships same day |