| # | Part | Description | Price | Req | Notes | Availability |
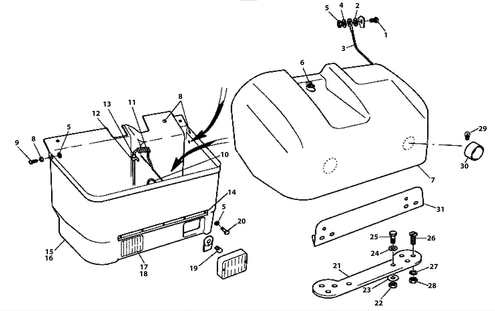
1 |
475-4360
|
SCREW, BUTTON HD HEX SKT - M5 x 20 - PTD (Tennant Industrial |
$3.00
|
6 |
|
usually ships 10-13 days |
2 |
475-5336
|
WASHER - TOP HAT (Tennant Industrial) |
$46.26
|
2 |
|
usually ships 10-13 days |
3 |
475-5736
|
RESTRAINING WIRE PER 250 (Tennant Industrial) |
$94.36
|
1 |
|
usually ships 10-13 days |
4 |
475-4286
|
WASHER, FORM A - M5 - ZN PTD PER 100 PER (Tennant Industrial |
$2.40
|
5 |
|
usually ships 10-13 days |
5 |
475-4326
|
NUT, NYLOC - M5 ZINC PLATED ZINC PLATED (Tennant Industrial |
$3.00
|
5 |
|
usually ships 10-13 days |
6 |
475-6355
|
LATCH 93-10-102-50 (Tennant Industrial) |
$158.48
|
1 |
|
usually ships 10-13 days |
7a |
475-7190
|
FRONT BOX LID (CIN92+) (Tennant Industrial) |
$1,368.90
|
1 |
|
usually ships 10-13 days |
7b |
375-4934
|
Front box lid HS/TR indicators(Tennant Industrial)(OBSOLETE) |
Call for price
|
1 |
|
usually ships 10-13 days |
9 |
475-4261
|
SCREW, BUTTON HD HEX SKT - M5x16 - ST/ST (Tennant Industrial |
$1.00
|
3 |
|
usually ships 10-13 days |
11a |
475-6239
|
WIRING LOOM - S2D & RS FRONT LIGHTS (Tennant Industrial) |
$131.76
|
1 |
|
usually ships 10-13 days |
11b |
475-6278
|
WIRING LOOM, TR FRONT LIGHTS - NO IND (Tennant Industrial) |
$97.03
|
1 |
|
usually ships 10-13 days |
11c |
475-6596
|
WIRING LOOM - FRONT BOX C/W INDICATORS (Tennant Industrial) |
$250.67
|
1 |
|
usually ships 10-13 days |
13 |
475-5109
|
PLUG - FRONT LIGHTS (Tennant Industrial) |
$38.91
|
1 |
|
usually ships 10-13 days |
14a |
475-5675
|
PIANO HINGE ST/ST-380MM (Tennant Industrial) |
$49.43
|
1 |
|
usually ships 10-13 days |
14b |
475-4340
|
SCREW, HEX HD SET - M5 x 16 - ZN PTD (Tennant Industrial) |
$1.80
|
9 |
|
usually ships 10-13 days |
15 |
475-6858
|
BOX BASE - RS/TR/HS ROTAMOULD - CAT GREY (Tennant Industrial |
$311.96
|
1 |
(from CIN 92) |
usually ships 10-13 days |
16 |
375-4936
|
S2D rotomould front box base (Tennant Industrial)(OBSOLETE) |
Call for price
|
1 |
|
usually ships 10-13 days |
17 |
475-6706
|
LIGHT, HEADLAMP - RS/TR/HS ITA 003 570-0 (Tennant Industrial |
$311.96
|
2 |
(414RS, 424TR, 424HS) |
usually ships 10-13 days |
18 |
475-6016
|
LIGHT, HEADLAMP - S2D FRONT 2ZZR003315-0 (Tennant Industrial |
$110.05
|
2 |
(414S2D only) |
usually ships 10-13 days |
19 |
475-5121
|
BULB - 12V, 21W LLB382T (Tennant Industrial) |
$41.08
|
2 |
|
usually ships 10-13 days |
20 |
475-4400
|
SCREW, BTN, M5 X 0.8 X 15 (Tennant Industrial) |
$4.20
|
2 |
|
usually ships 10-13 days |
21 |
375-4937
|
Mounting plate (Tennant Industrial)(OBSOLETE) |
Call for price
|
1 |
(for 424HS or 424TR eq) |
usually ships 10-13 days |
22 |
475-5028
|
NUT, NYLOC - M6 ZINC PLATED ZINC PLATED (Tennant Industrial) |
$33.07
|
2 |
|
usually ships 10-13 days |
23 |
475-4287
|
WASHER, MUDGUARD - 6.35 I/D x 25.4 O/D P (Tennant Industrial |
$2.40
|
2 |
|
usually ships 10-13 days |
24 |
475-5042
|
M6 WASHER PLAIN PTD. EACH EACH (Tennant Industrial) |
$33.07
|
2 |
|
usually ships 10-13 days |
25 |
475-4338
|
SCREW, HEX HD SET - M6 x 20 - ZN PLD GRA (Tennant Industrial |
$3.00
|
2 |
|
usually ships 10-13 days |
26 |
375-4938
|
Screw M5 x 16mm countersunk socket screw(Tennant Industrial) |
Call for price
|
4 |
|
usually ships 10-13 days |
27 |
475-4286
|
WASHER, FORM A - M5 - ZN PTD PER 100 PER (Tennant Industrial |
$2.40
|
4 |
|
usually ships 10-13 days |
28 |
475-4326
|
NUT, NYLOC - M5 ZINC PLATED ZINC PLATED (Tennant Industrial |
$3.00
|
4 |
(424HS) |
usually ships 10-13 days |
29 |
475-5208
|
LIGHT - FRONT INDICATOR (Tennant Industrial) |
$30.06
|
2 |
|
usually ships 10-13 days |
30 |
475-4586
|
BULB-FRONT&REAR INDICATORS HB273 21 WAT (Tennant Industrial |
$37.07
|
2 |
|
usually ships 10-13 days |
31 |
475-4989
|
SUPPORT BRACKET, FOLDED - DEA (Tennant Industrial) |
$21.38
|
1 |
|
usually ships 10-13 days |