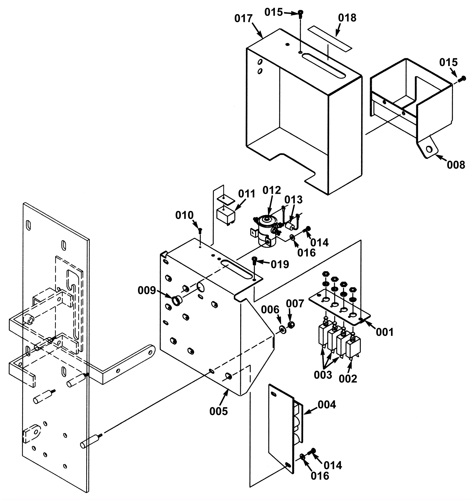
| # | Part | Description | Price | Req | Notes | Availability |
001 |
275-5747
|
Circuit breaker bracket |
$34.39
|
1 |
|
usually ships 1-5 days |
002 |
175-2761
|
10amp circuit breaker |
$118.69
|
1 |
|
usually ships 10-13 days |
003 |
175-2762
|
35amp circuit breaker |
$149.05
|
3 |
|
usually ships 10-13 days |
004 |
175-2763
|
Speed control assembly (OBSOLETE) |
$754.60
|
1 |
|
usually ships 10-13 days |
005 |
275-5748
|
Electrical panel weldment |
$119.35
|
1 |
|
usually ships 1-5 days |
006 |
999-0016
|
Washer 1/4 flat plain finish |
$0.99
|
4 |
|
ships same day |
007 |
999-0497
|
Nut M6-1 nylon insert lock stainless steel |
$0.99
|
4 |
|
ships same day |
008 |
275-5749
|
Detergent box bracket |
$92.95
|
1 |
|
usually ships 1-5 days |
009 |
175-2755
|
Snap bushing |
$4.22
|
1 |
|
usually ships 1-5 days |
010 |
175-2943
|
Screw 4-40 x 3/8 (OBSOLETE) |
$0.99
|
1 |
|
usually ships 1-5 days |
011 |
175-2756
|
24V flasher |
$95.04
|
1 |
|
usually ships 10-13 days |
012 |
175-2023
|
24V solenoid contactor |
$63.47
|
3 |
|
ships same day |
013 |
175-2757
|
Diode with ring terminals (small) |
$12.32
|
3 |
|
ships same day |
014 |
999-0999
|
Screw 10-24 x 3/8 truss head phillips stainless steel |
$1.43
|
8 |
|
ships same day |
015 |
999-0454
|
Screw 10-24 x 1/2 truss head phillips zinc plated |
$0.99
|
3 |
|
ships same day |
017 |
275-5750
|
Electrical panel cover |
$231.88
|
1 |
|
usually ships 1-5 days |
018 |
175-2759
|
Circuit breaker decal |
$49.61
|
1 |
|
usually ships 10-13 days |
019 |
999-0999
|
Screw 10-24 x 3/8 truss head phillips stainless steel |
$1.43
|
2 |
|
ships same day |