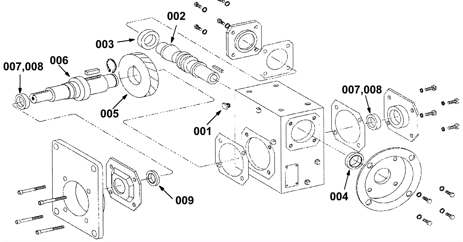
| # | Part | Description | Price | Req | Notes | Availability |
000 |
275-2161
|
GEARBOX, 90, :1RATIO,[NEMA56C]W/ MTG (Tennant Industrial) |
$2,030.72
|
1 |
Includes 001 - 009 |
usually ships 1-5 days |
001 |
275-4367
|
VR, BREATHER (Tennant Industrial) (OBSOLETE) |
$16.90
|
1 |
|
usually ships 1-5 days |
002 |
275-4368
|
SHAFT, INPUT (Tennant Industrial) (OBSOLETE) |
$383.30
|
1 |
|
usually ships 1-5 days |
003 |
275-4369
|
VR, BEARING (Tennant Industrial) (OBSOLETE) |
$49.30
|
1 |
|
usually ships 1-5 days |
004 |
275-4370
|
SEAL (Tennant Industrial) (OBSOLETE) |
$18.70
|
1 |
|
usually ships 1-5 days |
005 |
N/A
|
Not available |
Call for price
|
1 |
(Gear) |
usually ships 3-26 days |
006 |
N/A
|
Not available |
Call for price
|
1 |
|
usually ships 3-26 days |
007 |
275-4373
|
VR, BEARING, CONE (Tennant Industrial) (OBSOLETE) |
$43.50
|
2 |
|
usually ships 1-5 days |
008 |
275-4374
|
VR, BEARING, CUP (Tennant Industrial) (OBSOLETE) |
$18.10
|
2 |
|
usually ships 1-5 days |
009 |
275-4375
|
SEAL (Tennant Industrial) (OBSOLETE) |
$35.60
|
1 |
|
usually ships 1-5 days |