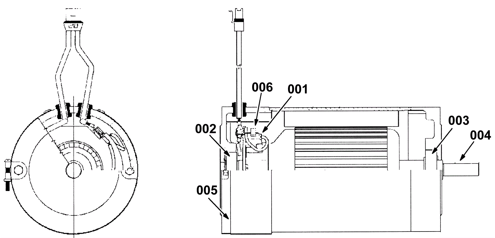
| # | Part | Description | Price | Req | Notes | Availability |
000 |
275-4273
|
Motor (OBSOLETE) |
$649.00
|
1 |
Includes 001 - 006 |
usually ships 1-5 days |
001 |
275-4327
|
VR, BRUSH, MOTOR, ELE (Tennant Industrial) |
$76.18
|
4 |
|
usually ships 1-5 days |
002 |
275-4328
|
VR, BEARING, MOTOR, ELE (Tennant Industrial) |
$60.85
|
1 |
|
usually ships 1-5 days |
003 |
275-4329
|
VR, BEARING, MOTOR, ELE (Tennant Industrial) |
$95.19
|
1 |
|
usually ships 1-5 days |
004a |
275-0085
|
Square key .19 x .19 1.25l |
$4.36
|
1 |
|
usually ships 10-13 days |
004b |
175-5365
|
Female terminal |
$2.18
|
2 |
|
usually ships 1-5 days |
004c |
175-5293
|
Female connector |
$11.00
|
1 |
|
ships same day |
005 |
275-4330
|
Band assembly (Tennant Industrial) (OBSOLETE) |
$9.20
|
1 |
|
usually ships 1-5 days |
006 |
275-4331
|
VR, BRUSHHOLDER, MOTOR, ELE, W/ BRUSH (Tennant Industrial) |
$537.57
|
1 |
|
usually ships 1-5 days |