| # | Part | Description | Price | Req | Notes | Availability |
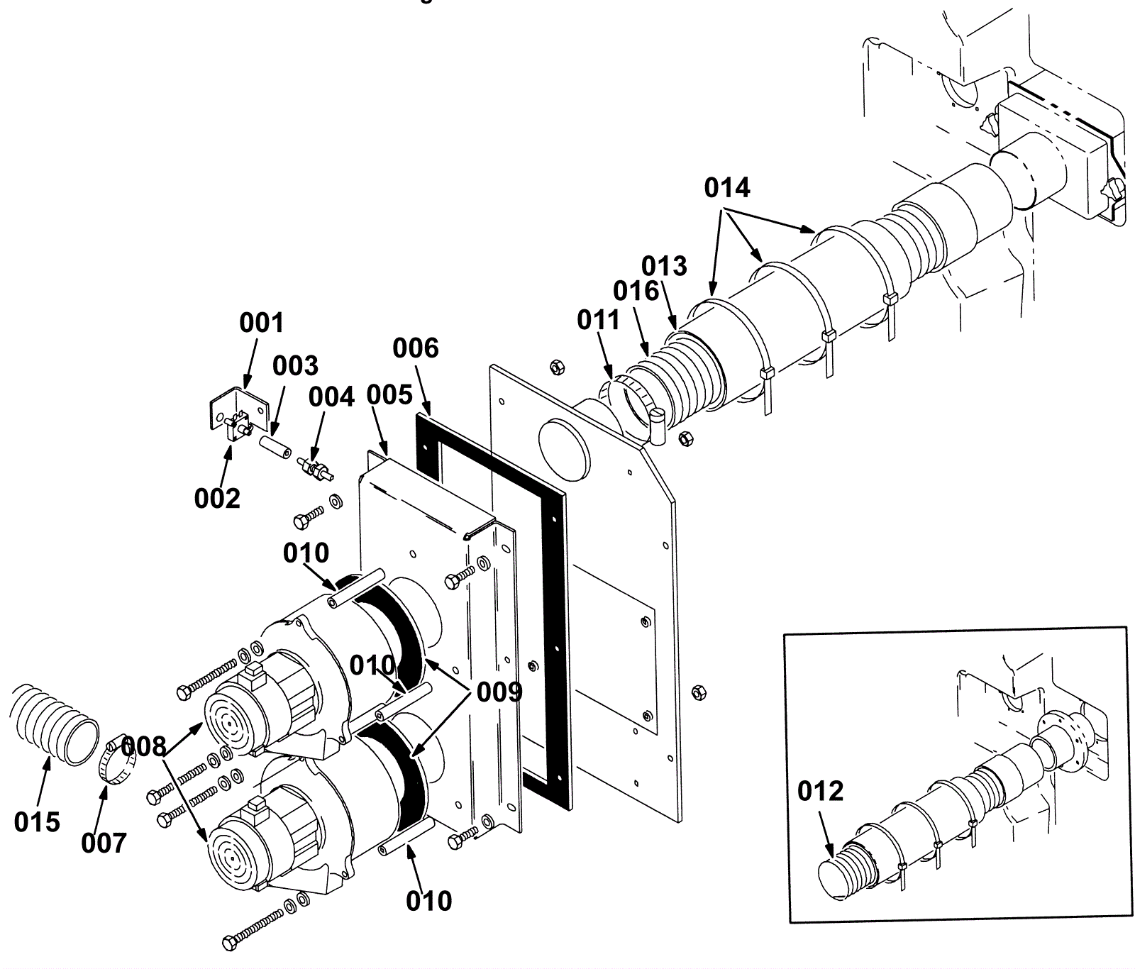
001 |
N/A
|
Not available |
Call for price
|
1 |
ARM, CNTRL, SPD (Tennant Industrial)
|
usually ships 3-26 days |
002 |
N/A
|
Not available |
Call for price
|
1 |
SWITCH, VACUUM, 04A SPST NO [50/H2O] (Tennant Industrial)
|
usually ships 3-26 days |
003 |
275-4180
|
HOSE, VACUUM, 0.16ID X 001.6L (Tennant Industrial) |
$11.36
|
1 |
|
usually ships 1-5 days |
004 |
275-4181
|
FITTING, BRS, STR, BM03/BM03, BH (Tennant Industrial) |
$5.67
|
1 |
|
usually ships 1-5 days |
005 |
275-4182
|
Fan mounting box (OBSOLETE) |
$93.94
|
1 |
|
usually ships 1-5 days |
006 |
N/A
|
Not available |
Call for price
|
1 |
GASKET, VACFAN, 0.25 09.3W 17.5L NEO (Tennant Industrial)
|
usually ships 3-26 days |
009 |
164-0881
|
Vacuum motor gasket |
$15.64
|
2 |
|
ships same day |
010 |
N/A
|
Not available |
Call for price
|
6 |
Steel tube |
usually ships 3-26 days |
011 |
175-5205
|
Wormdrive hose clamp |
$7.37
|
1 |
|
usually ships 1-5 days |
012 |
275-4184
|
HOSE ASSY, W/1CUFF, 3.0D 041L 3.0/ (Tennant Industrial) |
$103.87
|
1 |
|
usually ships 1-5 days |
013 |
275-4185
|
FLAP, CONTAINMENT (Tennant Industrial) |
$73.51
|
1 |
|
usually ships 1-5 days |
014 |
175-2226
|
Nylon wire tie |
$4.49
|
3 |
|
ships same day |
015 |
N/A
|
Not available |
Call for price
|
1 |
Vacuum hose |
usually ships 3-26 days |
016 |
275-4187
|
Vacuum hose (Tennant Industrial) (OBSOLETE) |
$34.80
|
1 |
|
usually ships 1-5 days |