| # | Part | Description | Price | Req | Notes | Availability |
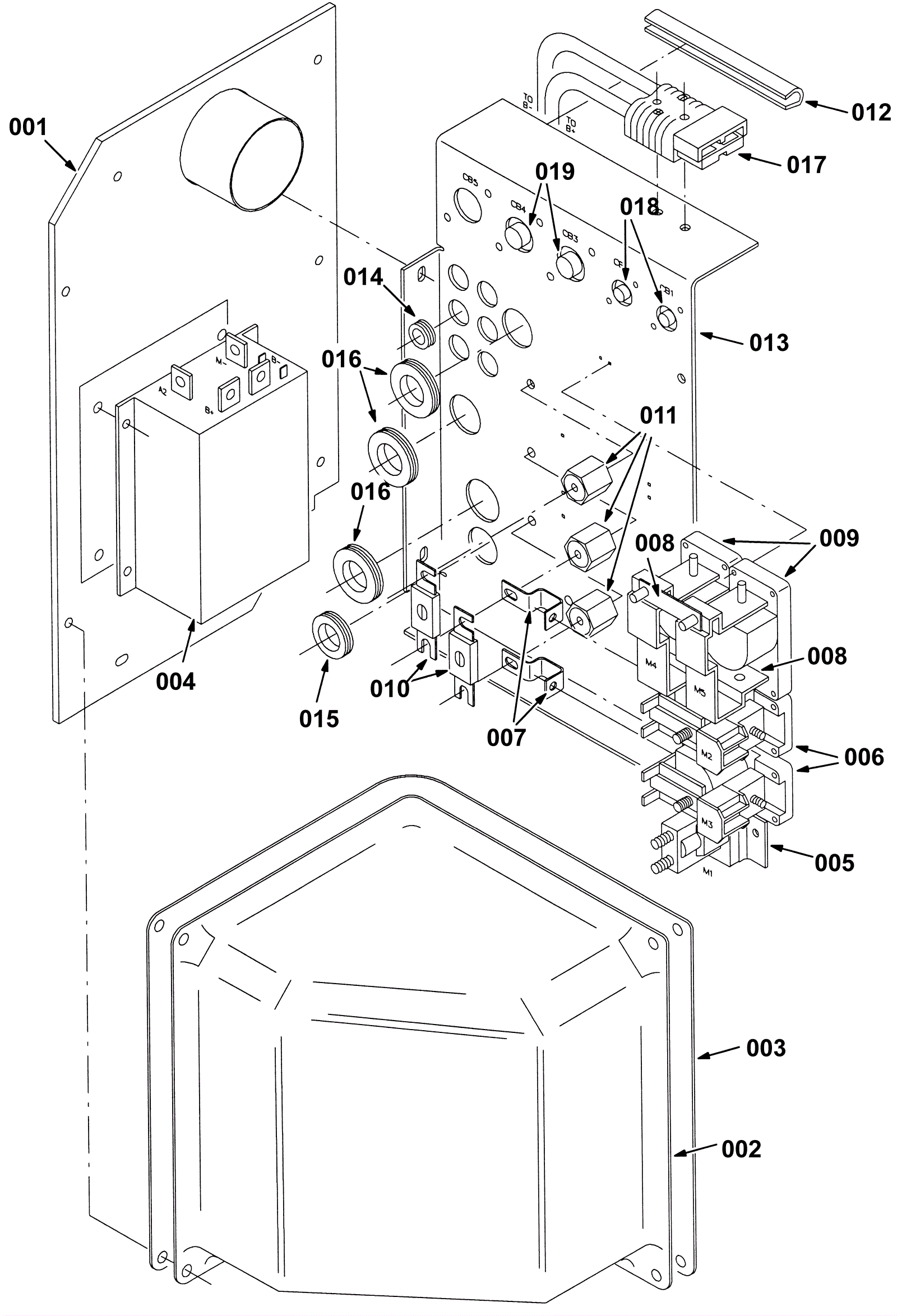
001 |
275-4169
|
PLATE WLDT, MTG (Tennant Industrial) (OBSOLETE) |
$259.07
|
1 |
|
usually ships 1-5 days |
002 |
275-4170
|
COVER, CNTRL (Tennant Industrial) (OBSOLETE) |
$200.00
|
1 |
|
usually ships 1-5 days |
003 |
N/A
|
Not available |
Call for price
|
1 |
Gasket |
usually ships 3-26 days |
004 |
275-4172
|
Motor speed controller (Tennant Industrial) (OBSOLETE) |
$935.13
|
1 |
|
usually ships 1-5 days |
005 |
175-2373
|
36V contactor |
$38.83
|
1 |
|
ships same day |
006 |
275-4173
|
CONTACTOR, 36VDC [SPNO] (Tennant Industrial) |
$584.12
|
2 |
|
usually ships 1-5 days |
007 |
175-0846
|
BUSBAR, FUSE, .6 0.6W 0.8H 2.0L (Tennant Industrial) |
$38.51
|
2 |
|
usually ships 1-5 days |
008 |
175-0848
|
BUSBAR, .06 0.6W 2.5L 2/.28H (Tennant Industrial) |
$20.00
|
2 |
|
usually ships 1-5 days |
009 |
175-0845
|
RELAY, 36VDC, 100A, SPDT NO [CABELFORM] (Tennant Industrial |
$520.71
|
2 |
|
usually ships 1-5 days |
010 |
275-1438
|
100amp fuse |
$63.14
|
2 |
|
ships same day |
011 |
175-3226
|
Insulated stand off |
$10.34
|
3 |
|
ships same day |
012 |
275-8203
|
Molding |
$48.40
|
1 |
|
usually ships 1-5 days |
013 |
275-4175
|
PANEL, MTG, CNTRL (Tennant Industrial) (OBSOLETE) |
$49.10
|
1 |
|
usually ships 1-5 days |
014 |
175-0839
|
Rubber grommet 1/2 ID |
$4.22
|
6 |
|
usually ships 1-5 days |
015 |
175-3311
|
Rubber grommet |
$5.50
|
1 |
|
usually ships 1-5 days |
016 |
275-4164
|
GROMMET, RBR, 1.06ID, F/1.4H, .19 MATL (Tennant Industrial) |
$8.17
|
3 |
|
usually ships 1-5 days |
017 |
275-4176
|
HARNESS, CONTROLLER [515] (Tennant Industrial) (OBSOLETE) |
$116.70
|
1 |
|
usually ships 1-5 days |
018 |
N/A
|
Not available |
Call for price
|
2 |
CIRCUITBREAKER, 20.0A, RESETABLE (Tennant Industrial)
|
usually ships 3-26 days |
019 |
175-9371
|
CIRCUITBREAKER, 40.0A [RESETABLE] (Tennant Industrial) |
$152.53
|
2 |
|
usually ships 1-5 days |