| # | Part | Description | Price | Req | Notes | Availability |
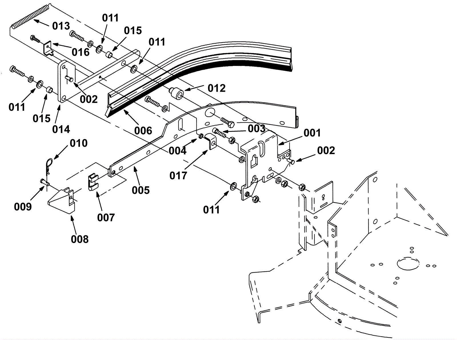
000 |
275-2192
|
SQUEEGEE ASSY, SIDE, RH (Tennant Industrial) |
$1,083.83
|
1 |
|
usually ships 1-5 days |
001 |
275-2193
|
BRACKET WLDT, SQGE, RH (Tennant Industrial) |
$180.36
|
1 |
|
usually ships 1-5 days |
002 |
275-0146
|
PIN, CLEVIS, 0.37D X 0.75L (Tennant Industrial) |
$5.67
|
2 |
|
usually ships 10-13 days |
003 |
175-6821
|
SCREW, SOC, M8 X 1.25 X 35, 12.9 (Tennant Industrial) |
$5.64
|
1 |
|
ships same day |
004 |
275-2194
|
SPACER (Tennant Industrial) |
$27.22
|
1 |
|
usually ships 1-5 days |
005 |
275-2195
|
FRAME WLDT, SQGE, SIDE, RH (Tennant Industrial) |
$439.21
|
1 |
|
usually ships 10-13 days |
006b |
275-9740
|
Side squeegee blade gum rubber |
$56.10
|
1 |
|
ships same day |
007 |
175-3357
|
Squeegee blade retainer |
$12.10
|
1 |
|
usually ships 10-13 days |
008 |
275-2196
|
GUIDE, SQGE, SIDE (Tennant Industrial) (OBSOLETE) |
$86.84
|
1 |
|
usually ships 10-13 days |
009 |
175-3351
|
Clevis pin |
$4.49
|
1 |
|
usually ships 10-13 days |
010 |
175-2117
|
Cotter pin |
$5.28
|
1 |
|
usually ships 10-13 days |
011 |
175-3351
|
Clevis pin |
$4.49
|
4 |
|
usually ships 10-13 days |
012 |
275-2197
|
BAR, RND, PIVOT, MTG, SQGE (Tennant Industrial) (OBSOLETE) |
$258.85
|
1 |
|
usually ships 10-13 days |
013 |
175-3345
|
Extension spring |
$10.01
|
1 |
|
ships same day |
014 |
275-2198
|
BELLCRANK, LIFT, SQGE, SIDE (Tennant Industrial) |
$158.15
|
1 |
|
usually ships 1-5 days |
015 |
175-3355
|
Sleeved bushing |
$7.37
|
2 |
|
usually ships 10-13 days |
016 |
275-2199
|
Stop angle (Tennant Industrial) |
$49.60
|
1 |
|
usually ships 1-5 days |
017 |
275-2200
|
ANGLE, MTG, STL, .18 1.3 1.0 00.8L (Tennant Industrial) |
$59.62
|
1 |
|
usually ships 1-5 days |