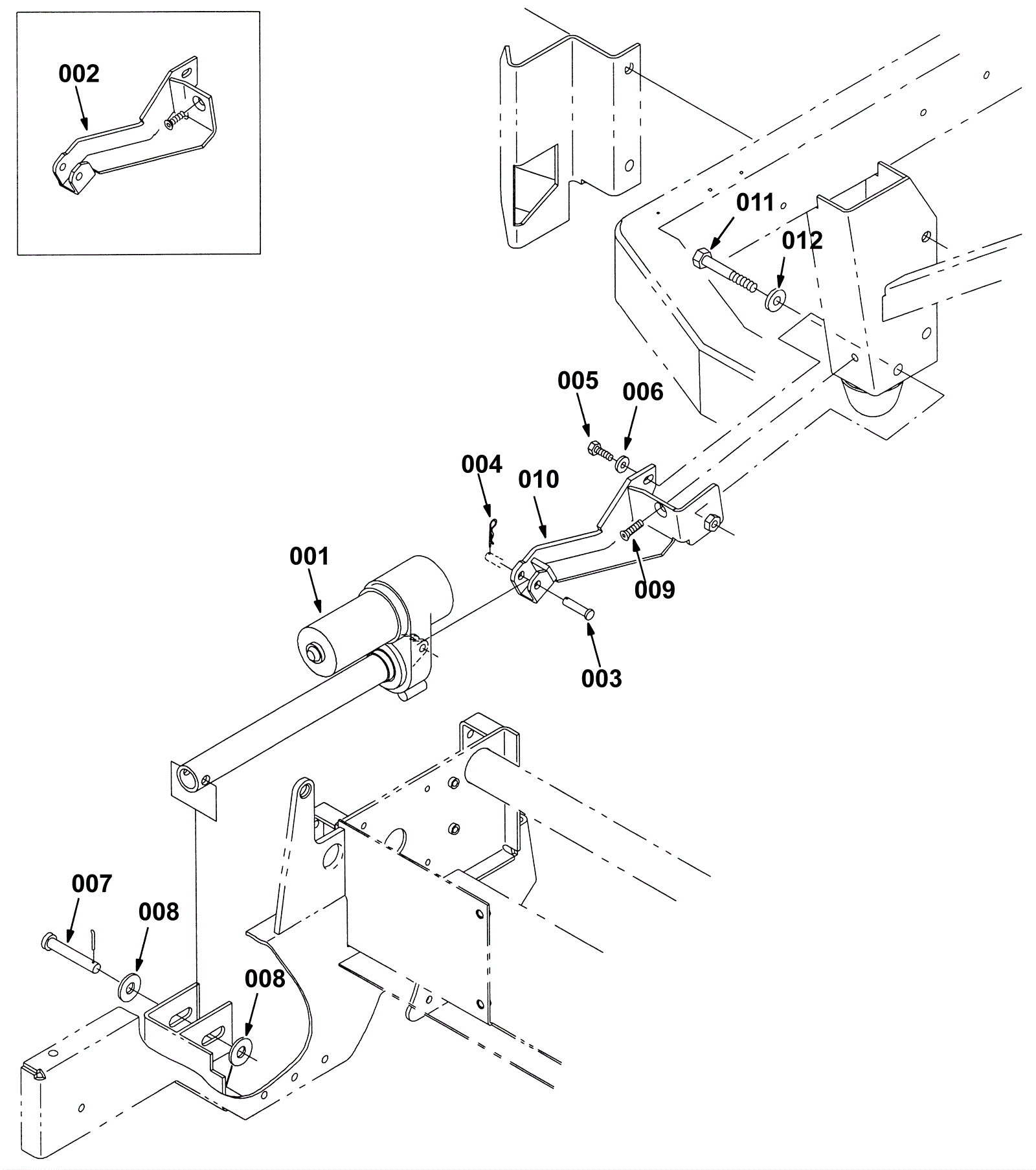
| # | Part | Description | Price | Req | Notes | Availability |
001 |
275-2101
|
Actuator replacement kit (Tennant Industrial) (OBSOLETE) |
$532.34
|
1 |
|
usually ships 1-5 days |
002 |
275-2102
|
BRACKET KIT, MTG, ACTUATOR (Tennant Industrial) (OBSOLETE) |
$151.00
|
1 |
|
usually ships 1-5 days |
003 |
175-2111
|
Clevis pin |
$5.15
|
1 |
|
usually ships 10-13 days |
004 |
175-2113
|
Cotter pin |
$3.30
|
1 |
|
ships same day |
005 |
999-0499
|
Bolt M8-1.25 x 20mm hex head full thread stainless steel |
$1.85
|
1 |
|
ships same day |
006 |
999-0549
|
Washer 5/16 x 3/4 SAE flat stainless steel |
$0.99
|
1 |
|
ships same day |
007 |
175-2591
|
Clevis pin |
$5.50
|
1 |
|
usually ships 1-5 days |
008 |
999-0114
|
Washer 1/2 SAE flat |
$0.99
|
2 |
|
ships same day |
009 |
999-1622
|
Screw M8-1.25 x 25mm flat head phillips stainless steel |
$1.69
|
1 |
|
ships same day |
010 |
275-2103
|
BRACKET, MTG, ACTUATOR (Tennant Industrial) (OBSOLETE) |
$96.30
|
1 |
|
usually ships 1-5 days |
011 |
275-2104
|
SCREW, HEX, M10 X 1.50 X 90, 8.8 (Tennant Industrial) |
$9.84
|
1 |
|
usually ships 1-5 days |
012 |
999-0355
|
Washer 3/8 x 7/8 SAE flat stainless steel |
$0.99
|
1 |
|
ships same day |