| # | Part | Description | Price | Req | Notes | Availability |
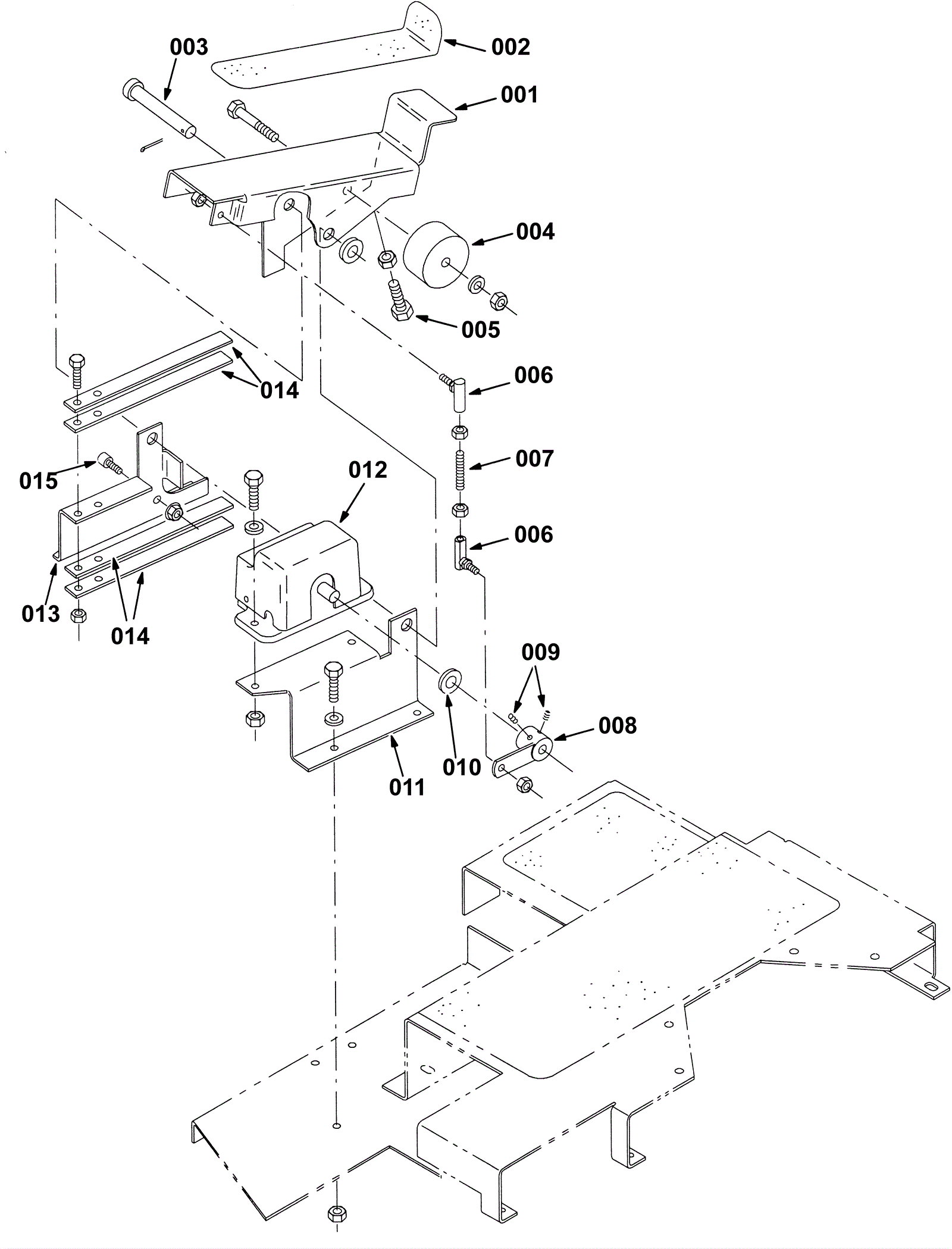
001 |
275-2044
|
PEDAL, W/ TREAD (Tennant Industrial) (OBSOLETE) |
$61.20
|
1 |
|
usually ships 1-5 days |
002 |
175-3307
|
Non-skid tread |
$6.49
|
1 |
|
usually ships 10-13 days |
004 |
175-3303
|
Spacer |
$8.03
|
1 |
|
usually ships 1-5 days |
005 |
275-3330
|
PANE, ACRYLIC (Tennant Industrial) |
$406.41
|
1 |
|
usually ships 1-5 days |
006 |
275-2045
|
BALLJOINT, M6 X 1.0 FEM, M6 X 1.0 MAL (Tennant Industrial) |
$45.84
|
2 |
|
usually ships 1-5 days |
007 |
275-2046
|
ROD, THRD, 2 END, M06 X 1.0 02.2L (Tennant Industrial) |
$60.18
|
1 |
|
usually ships 1-5 days |
008 |
275-2047
|
ARM WLDT, CNTRL, DIR (Tennant Industrial) |
$168.84
|
1 |
|
usually ships 1-5 days |
009 |
275-2048
|
SCREW, SET, SOC, M5 X 0.80 X 8, PL [45H] (Tennant Industria |
$6.67
|
2 |
|
usually ships 1-5 days |
010 |
175-3435
|
Washer 25/64 x 3/4d x 1/16 nylon |
$4.49
|
1 |
|
usually ships 1-5 days |
011 |
N/A
|
Not available |
Call for price
|
1 |
Pedal mounting bracket |
usually ships 3-26 days |
012 |
275-2050
|
THROTTLE, ELECTRONIC, 0000/5000 OHM (Tennant Industrial) |
$1,078.05
|
1 |
|
usually ships 1-5 days |
013 |
275-2051
|
BRACKET, MTG, PEDAL, DIR CNTRL, RH (Tennant Industrial) |
$53.61
|
1 |
|
usually ships 1-5 days |
014 |
275-2052
|
SPRING, FLAT, .06, 0.75W X 07.8L (Tennant Industrial) |
$21.50
|
4 |
|
usually ships 1-5 days |
015 |
175-0602
|
Screw M8-1.25 x 25mm socket |
$4.49
|
1 |
|
usually ships 10-13 days |