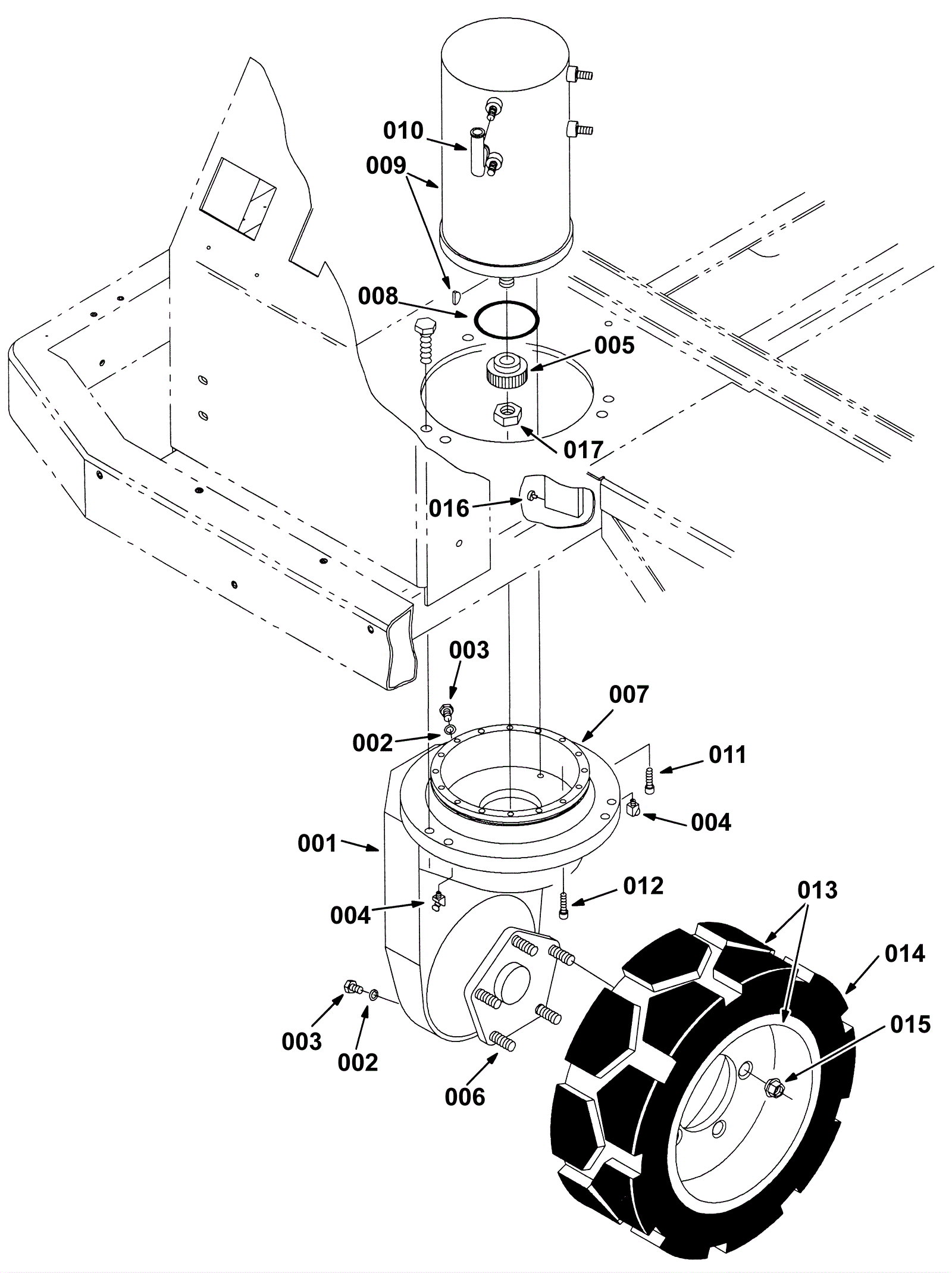
| # | Part | Description | Price | Req | Notes | Availability |
001 |
175-0604
|
GEARBOX, 90, DRIVE WHEEL, REAR [HU] (Tennant Industrial) |
$10,962.69
|
1 |
Includes 002 - 007 |
usually ships 1-5 days |
002 |
175-0606
|
VR, SEAL, ORG (Tennant Industrial) |
$10.50
|
2 |
|
usually ships 1-5 days |
003 |
175-0607
|
VR, PLUG, GEARBOX, DRIVE WHEEL (Tennant Industrial) |
$16.34
|
2 |
|
usually ships 1-5 days |
004 |
175-0605
|
FITTING, GREASE (Tennant Industrial) |
$24.67
|
2 |
|
usually ships 1-5 days |
005 |
175-0608
|
VR, GEAR, DRIVE (Tennant Industrial) |
$927.19
|
1 |
|
usually ships 1-5 days |
006 |
175-0609
|
VR, BOLT, GEARBOX, DRIVE WHEEL (Tennant Industrial) |
$65.51
|
5 |
|
usually ships 1-5 days |
007 |
175-0610
|
VR, HOUSING, UPPER, GEARBOX, DRIVE WHEEL (Tennant Industria |
$6,813.10
|
1 |
|
usually ships 10-13 days |
008 |
175-0612
|
SEAL, ORG, .139 X 02.98ID (Tennant Industrial) |
$8.84
|
1 |
|
usually ships 10-13 days |
009 |
175-0611
|
MOTOR, ELE, 36VDC 2000RPM 3.00HP (Tennant Industrial) |
$6,193.74
|
1 |
|
usually ships 1-5 days |
010 |
175-2122
|
90 degree cable boot |
$5.28
|
4 |
|
usually ships 10-13 days |
011 |
175-0613
|
SCREW, SOC, M8 X 1.25 X 80, 12.9 (Tennant Industrial) |
$10.17
|
2 |
|
usually ships 1-5 days |
012 |
175-0614
|
Screw M8-1.25 x 60mm socket head (Tennant Industrial) |
$9.50
|
1 |
|
usually ships 10-13 days |
013 |
275-7335
|
TIRE, DRIVE, SCRBR, NON-SKID, 16.0X6.0 (Tennant Industrial) |
$2,169.27
|
1 |
Includes 014 |
usually ships 1-5 days |
014 |
275-2014
|
Solid tire (Tennant Industrial) (OBSOLETE) |
$345.00
|
1 |
|
usually ships 1-5 days |
015 |
175-0618
|
NUT, WHEEL, M14-1.5 (Tennant Industrial) |
$19.17
|
5 |
|
usually ships 1-5 days |
016 |
275-2015
|
BUMPER, RBR, 0.50D 0.19TH KNURLED STUD (Tennant Industrial) |
$7.17
|
2 |
|
usually ships 1-5 days |
017 |
175-6750
|
NUT, HEX, LOCK, .50-20, NL, THIN (Tennant Industrial) |
$5.50
|
1 |
|
usually ships 1-5 days |