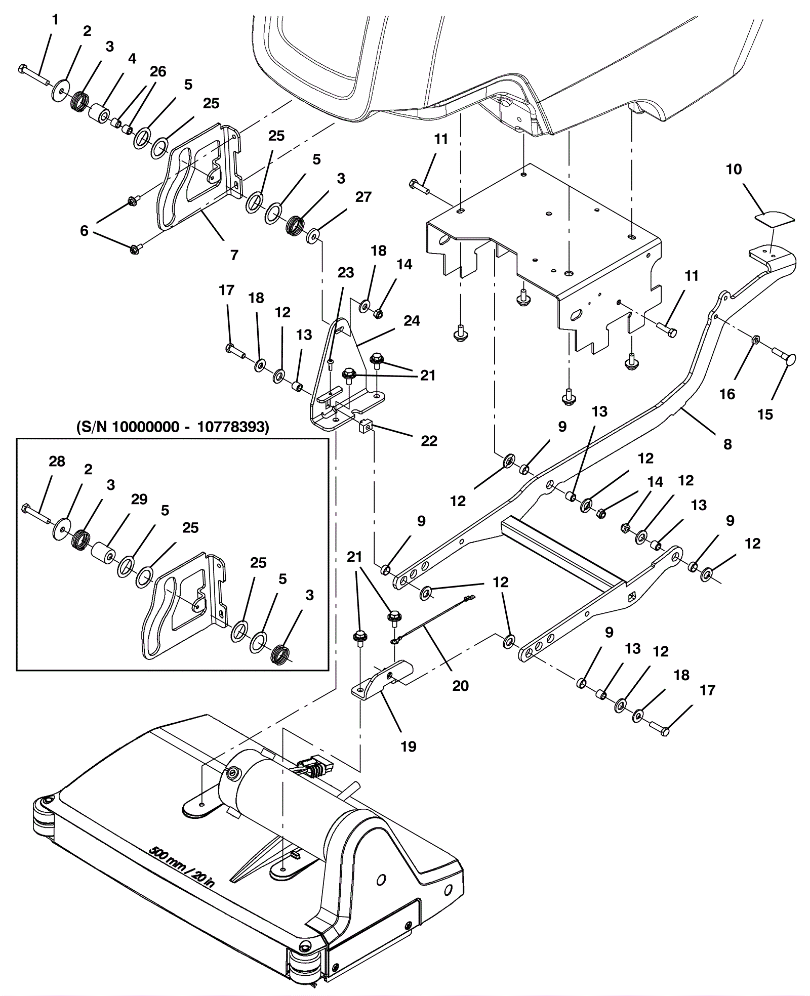
| # | Part | Description | Price | Req | Notes | Availability |
1 |
999-0788
|
Screw M8-1.25 x 55mm hex head stainless steel |
$2.40
|
1 |
(after SN 10778393) |
ships same day |
2 |
275-5384
|
Flat washer (Tennant Industrial) |
$9.50
|
1 |
|
usually ships 10-13 days |
3 |
375-0189
|
Spring |
$40.26
|
2 |
|
usually ships 1-5 days |
4 |
175-7911
|
Roller |
$10.67
|
1 |
(after SN 10778393) |
usually ships 10-13 days |
5 |
375-0190
|
Flat washer (Tennant Industrial) |
$20.67
|
2 |
|
usually ships 1-5 days |
6 |
999-1383
|
Screw M6-1 x 16mm hex head stainless steel |
$3.96
|
2 |
|
ships same day |
7 |
375-0252
|
Guide bracket |
$35.64
|
1 |
|
usually ships 10-13 days |
8 |
275-6649
|
Scrub head lift kit |
$273.57
|
1 |
(includes 9) |
usually ships 10-13 days |
9 |
175-4720
|
Bearing |
$10.67
|
8 |
|
usually ships 10-13 days |
10 |
375-1347
|
Pedal pad |
$5.41
|
1 |
|
usually ships 10-13 days |
11 |
999-0785
|
Screw M8-1.25 x 30mm hex head stainless steel |
$2.24
|
2 |
|
ships same day |
12 |
999-9214
|
Washer M8 flat nylon |
$0.99
|
8 |
|
ships same day |
13 |
175-2249
|
Sleeve |
$4.22
|
4 |
|
ships same day |
14 |
999-0496
|
Nut M8-1.25 nylon insert lock stainless steel |
$1.98
|
3 |
|
ships same day |
15 |
999-1641
|
Bolt M8-1.25 x 40mm carriage stainless steel |
$2.86
|
1 |
|
ships same day |
16 |
175-4006
|
Nut M8 x 1.25 hex jam |
$4.49
|
1 |
|
usually ships 10-13 days |
17 |
999-0770
|
Screw M8-1.25 x 30mm flat head socket stainless steel |
$2.62
|
2 |
|
ships same day |
18 |
999-0355
|
Washer 3/8 x 7/8 SAE flat stainless steel |
$0.99
|
3 |
|
ships same day |
19 |
375-0191
|
Bracket weldment (short) |
$38.83
|
1 |
|
usually ships 1-5 days |
20 |
375-0108
|
Electrical harness |
$7.04
|
1 |
|
usually ships 10-13 days |
21 |
275-4736
|
Screw M8-1.25 x 20mm hex washer head stainless steel SEMS |
$4.49
|
4 |
|
ships same day |
22 |
375-1348
|
Nut M8 x 1.25mm |
$11.55
|
1 |
|
usually ships 10-13 days |
23 |
999-1403
|
Screw M8 x 16mm torx head |
$2.90
|
1 |
|
ships same day |
24 |
375-0192
|
Bracket weldment (tall) |
$97.68
|
1 |
|
usually ships 1-5 days |
25 |
375-0193
|
Flat nylon washer |
$1.98
|
2 |
|
usually ships 1-5 days |
26 |
175-2249
|
Sleeve |
$4.22
|
2 |
(after SN 10778393) |
ships same day |
27 |
999-0549
|
Washer 5/16 x 3/4 SAE flat stainless steel |
$0.99
|
1 |
(after SN 10778393) |
ships same day |
28 |
999-1297
|
Screw M8 x 50mm hex head stainless steel |
$2.86
|
1 |
(before SN 10778394) |
ships same day |
29 |
375-0251
|
Roller |
$5.94
|
1 |
(before SN 10778394) |
usually ships 10-13 days |