| # | Part | Description | Price | Req | Notes | Availability |
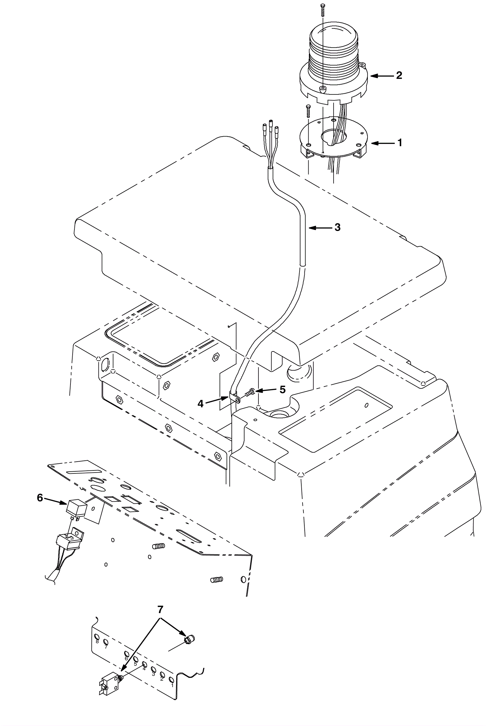
1 |
375-2613
|
Light and alarm bracket (OBSOLETE) |
Call for price
|
1 |
|
usually ships 10-13 days |
2 |
375-2614
|
Light (OBSOLETE) |
Call for price
|
1 |
|
usually ships 10-13 days |
3 |
375-2615
|
Wire harness (OBSOLETE) |
Call for price
|
1 |
|
usually ships 10-13 days |
4 |
175-5421
|
P clamp |
$5.28
|
1 |
|
usually ships 10-13 days |
5 |
175-3223
|
Screw 12-16 x 1/2 pan head plastic |
$5.28
|
1 |
|
usually ships 1-5 days |
6 |
175-2265
|
36V 5amp relay |
$17.71
|
1 |
|
usually ships 10-13 days |
7 |
175-2336
|
10amp circuit breaker |
$16.61
|
1 |
|
usually ships 10-13 days |