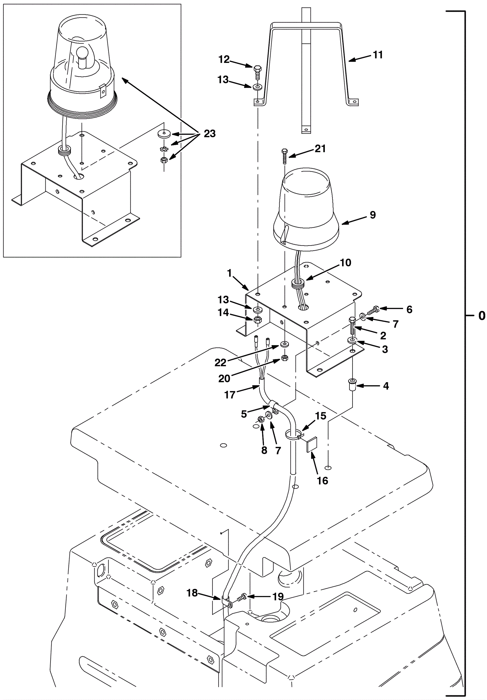
| # | Part | Description | Price | Req | Notes | Availability |
0 |
375-3118
|
Flashing light kit |
$699.71
|
1 |
(includes 1-9c, 10-22) |
usually ships 10-13 days |
1 |
175-5414
|
Light bracket weldment |
$132.33
|
1 |
|
usually ships 1-5 days |
2 |
999-0136
|
Bolt 1/4-20 x 1 1/4 hex head grade 5 zinc plated |
$0.99
|
4 |
|
ships same day |
3 |
999-0024
|
Washer 5/16 flat stainless steel |
$1.34
|
4 |
|
ships same day |
4 |
175-5424
|
Nut 1/4-20 isolator wall thick |
$5.50
|
4 |
|
usually ships 10-13 days |
5 |
175-3170
|
P clamp |
$4.22
|
1 |
|
ships same day |
6 |
999-0502
|
Bolt M6-1 x 20mm hex head full thread zinc |
$0.99
|
1 |
|
ships same day |
7 |
999-0016
|
Washer 1/4 flat plain finish |
$0.99
|
2 |
|
ships same day |
8 |
999-0469
|
Nut M6-1 nylon insert lock zinc plated |
$1.32
|
1 |
|
ships same day |
9a |
275-4677
|
Flashing light (amber) |
$388.14
|
1 |
(includes 9b-9c) (after SN 00718) |
usually ships 1-5 days |
9b |
275-4676
|
Bulb |
$20.79
|
1 |
(after SN 00718) |
usually ships 1-5 days |
9c |
275-4675
|
Lens |
$37.29
|
1 |
(after SN 00718) |
usually ships 1-5 days |
9d |
275-7186
|
Lens (red) (Tennant Industrial) |
$64.68
|
1 |
(after SN 00718) (optional) |
usually ships 1-5 days |
9e |
275-7187
|
Lens (blue) (Tennant Industrial) |
$78.18
|
1 |
(after SN 00718) (optional) |
usually ships 1-5 days |
10 |
175-5419
|
Grommet 5/8 |
$3.30
|
1 |
|
usually ships 1-5 days |
11 |
175-5420
|
Revolving/flashing light guard weldment |
$167.97
|
1 |
|
usually ships 1-5 days |
12 |
999-0502
|
Bolt M6-1 x 20mm hex head full thread zinc |
$0.99
|
4 |
|
ships same day |
13 |
999-0016
|
Washer 1/4 flat plain finish |
$0.99
|
8 |
|
ships same day |
14 |
999-0469
|
Nut M6-1 nylon insert lock zinc plated |
$1.32
|
4 |
|
ships same day |
15 |
175-2202
|
Nylon wire tie |
$4.49
|
2 |
|
ships same day |
16 |
175-3233
|
Cable tie mount |
$4.62
|
1 |
|
usually ships 1-5 days |
17 |
375-3119
|
Light harness |
$39.05
|
1 |
|
usually ships 10-13 days |
18 |
175-5421
|
P clamp |
$5.28
|
1 |
|
usually ships 10-13 days |
19 |
175-3223
|
Screw 12-16 x 1/2 pan head plastic |
$5.28
|
1 |
|
usually ships 1-5 days |
20 |
175-2894
|
Nut M5-.8 hex nylon locking |
$3.30
|
2 |
(after SN 00718) |
usually ships 10-13 days |
21 |
175-0837
|
Bolt M5-.8 x 16mm hex head |
$3.30
|
2 |
(after SN 00718) |
usually ships 1-5 days |
22 |
999-0006
|
Washer 3/16 flat zinc plated |
$0.99
|
2 |
(after SN 00718) |
ships same day |
23a |
175-5416
|
Revolving lamp assembly |
$397.65
|
1 |
(includes 12b-23c) (before SN 00719) |
usually ships 1-5 days |
23b |
175-5417
|
Lamp |
$30.58
|
1 |
(before SN 00719) |
usually ships 1-5 days |
23c |
175-5418
|
Revolving light amber lens |
$47.63
|
1 |
(before SN 00719) |
usually ships 1-5 days |
N/S |
175-5422
|
Revolving light red lens |
$62.59
|
1 |
(before SN 00719) (optional) |
usually ships 1-5 days |
N/S |
175-5423
|
Revolving light blue lens |
$80.19
|
1 |
(before SN 00719) (optional) |
usually ships 1-5 days |