| # | Part | Description | Price | Req | Notes | Availability |
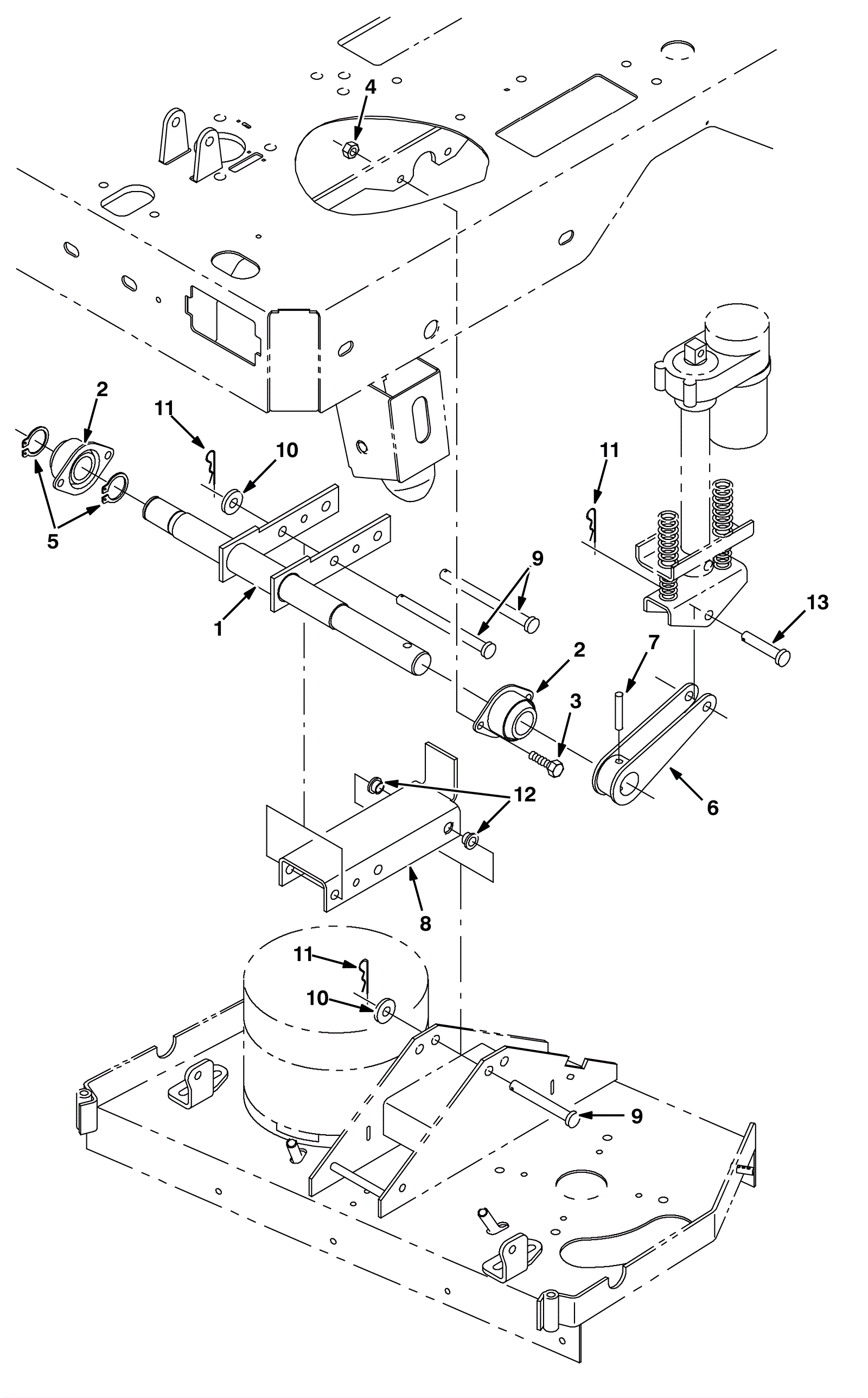
1 |
375-3097
|
Shaft |
$216.81
|
1 |
|
usually ships 10-13 days |
2 |
175-9782
|
Flanged bearing 2 hole 1 1/4 bore |
$25.96
|
2 |
|
usually ships 1-5 days |
3 |
999-1372
|
Bolt M10-1.5 x 25mm hex head stainless steel |
$3.56
|
4 |
|
ships same day |
4 |
999-1120
|
Nut M10-1.5 nylon insert lock stainless steel |
$4.27
|
4 |
|
ships same day |
5 |
175-9783
|
Retaining ring 1 1/4d |
$4.49
|
2 |
|
usually ships 1-5 days |
6 |
375-3098
|
Lift arm |
$145.64
|
1 |
|
usually ships 10-13 days |
7 |
175-9781
|
Roll pin 3/8d x 2l .375/.382 |
$4.49
|
1 |
|
usually ships 1-5 days |
8 |
375-3099
|
Bracket |
$289.63
|
1 |
|
usually ships 10-13 days |
9 |
175-2116
|
Clevis pin |
$6.49
|
3 |
|
usually ships 10-13 days |
10 |
999-0114
|
Washer 1/2 SAE flat |
$0.99
|
3 |
|
ships same day |
11 |
175-2106
|
Cotter hair pin |
$4.49
|
4 |
|
ships same day |
12 |
175-3335
|
Flanged bushing |
$16.94
|
2 |
|
usually ships 10-13 days |
13 |
175-9603
|
Clevis pin |
$5.28
|
1 |
|
usually ships 10-13 days |