| # | Part | Description | Price | Req | Notes | Availability |
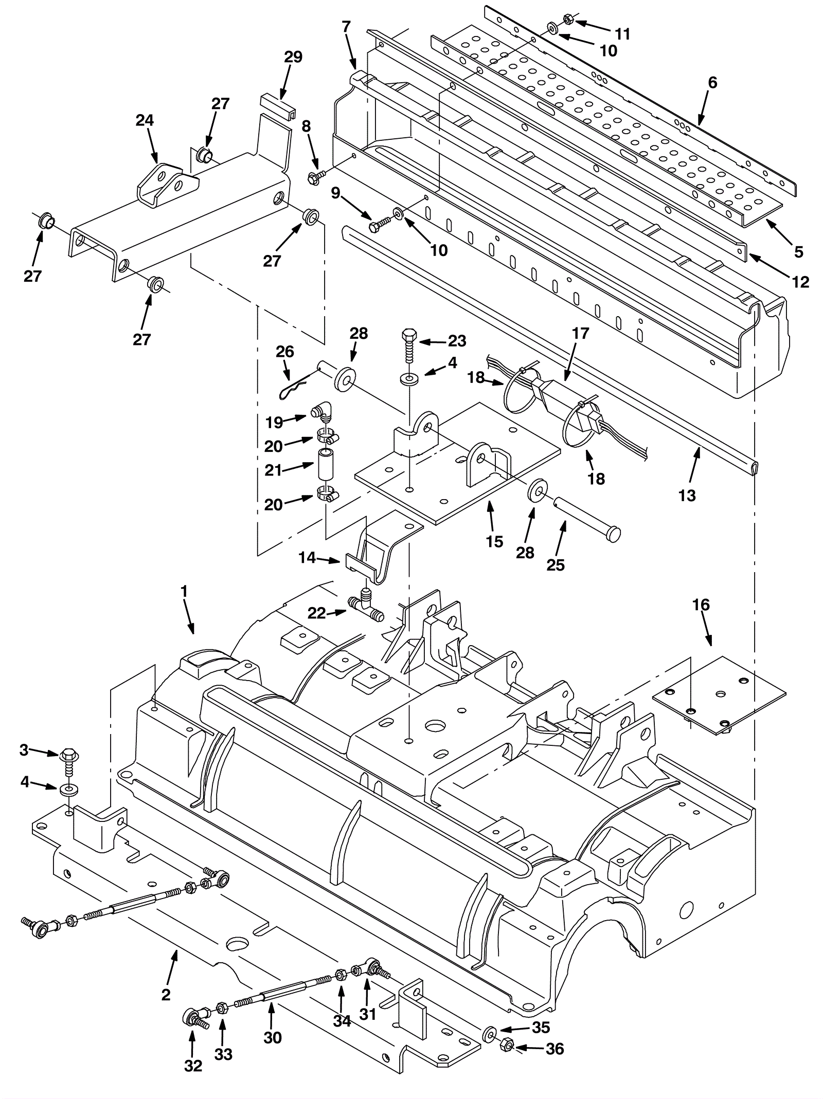
2 |
175-5404
|
32 in cylindrical lift tool angle weldment |
$551.98
|
1 |
|
usually ships 1-5 days |
3 |
175-2888
|
Bolt M8-1 1/4 x 25mm hex head |
$5.28
|
4 |
|
usually ships 10-13 days |
4 |
999-0355
|
Washer 3/8 x 7/8 SAE flat stainless steel |
$0.99
|
8 |
|
ships same day |
5a |
175-2504
|
32 inch debris tray kit |
$413.60
|
1 |
(includes 5b-12) |
usually ships 10-13 days |
5 |
175-2517
|
Skirt |
$38.17
|
1 |
|
usually ships 10-13 days |
6 |
175-2399
|
Debris tray skirt |
$47.41
|
1 |
|
usually ships 10-13 days |
7 |
375-3100
|
Debris tray |
$253.33
|
1 |
|
usually ships 10-13 days |
8 |
175-3298
|
Bolt M6-1 x 12mm hex head |
$4.49
|
2 |
|
ships same day |
9 |
999-1087
|
Bolt M6-1 x 25mm hex head stainless steel |
$0.99
|
4 |
|
ships same day |
10 |
999-0335
|
Washer 1/4 x 5/8 SAE flat stainless steel |
$0.99
|
8 |
|
ships same day |
11 |
999-0497
|
Nut M6-1 nylon insert lock stainless steel |
$0.99
|
4 |
|
ships same day |
12 |
175-2506
|
32 inch debris tray lip |
$40.81
|
1 |
|
usually ships 1-5 days |
13 |
175-2507
|
Channel |
$31.68
|
1 |
|
usually ships 1-5 days |
14 |
175-2521
|
Hose guide bracket |
$24.86
|
1 |
|
usually ships 10-13 days |
15 |
175-5397
|
Cylce lift tool plate weldment |
$131.01
|
1 |
|
usually ships 1-5 days |
16 |
175-5398
|
Tool lift mounting plate |
$39.05
|
1 |
|
usually ships 10-13 days |
17 |
175-2510
|
Cylindrical head wiring harness |
$151.14
|
1 |
|
usually ships 10-13 days |
18 |
175-2202
|
Nylon wire tie |
$4.49
|
2 |
|
ships same day |
19 |
175-5233
|
Plastic fitting |
$8.14
|
1 |
|
usually ships 10-13 days |
20 |
175-6081
|
Hose clamp |
$4.84
|
2 |
|
usually ships 1-5 days |
21 |
175-5399
|
Clear pvc hose 1/2 x 11/16 x 1 1/2 |
$5.28
|
1 |
|
usually ships 10-13 days |
22 |
175-3329
|
Plastic tee fitting |
$6.49
|
1 |
|
usually ships 10-13 days |
23 |
999-0785
|
Screw M8-1.25 x 30mm hex head stainless steel |
$2.24
|
4 |
|
ships same day |
24a |
275-2444
|
Lift weldment |
$120.89
|
1 |
(standard) |
usually ships 1-5 days |
24b |
375-3099
|
Bracket |
$289.63
|
1 |
(rollout) |
usually ships 10-13 days |
25 |
175-5401
|
Clevis pin 1/2 x 4 1/2 |
$5.50
|
1 |
|
usually ships 10-13 days |
26 |
175-5402
|
Cotter hair pin |
$8.80
|
1 |
|
usually ships 1-5 days |
27 |
175-3335
|
Flanged bushing |
$16.94
|
4 |
(qty 2 for rollout) |
usually ships 10-13 days |
28 |
999-0114
|
Washer 1/2 SAE flat |
$0.99
|
2 |
|
ships same day |
29 |
175-3336
|
Rubber trim molding |
$19.25
|
1 |
|
usually ships 1-5 days |
30 |
175-3319
|
Threaded rod |
$66.99
|
2 |
|
ships same day |
31 |
175-3320
|
Rod end left side |
$45.76
|
2 |
|
usually ships 10-13 days |
32 |
175-3321
|
Rod end right side |
$45.76
|
2 |
|
usually ships 10-13 days |
33 |
999-0169
|
Nut 3/8-24 hex jam plain finish |
$0.99
|
2 |
|
ships same day |
34 |
999-0319
|
Nut 3/8-24 hex left hand plain finish |
$1.98
|
2 |
|
ships same day |
35 |
999-0355
|
Washer 3/8 x 7/8 SAE flat stainless steel |
$0.99
|
2 |
|
ships same day |
36 |
175-3322
|
Nut 3/8-24 hex lock |
$5.94
|
2 |
|
usually ships 10-13 days |