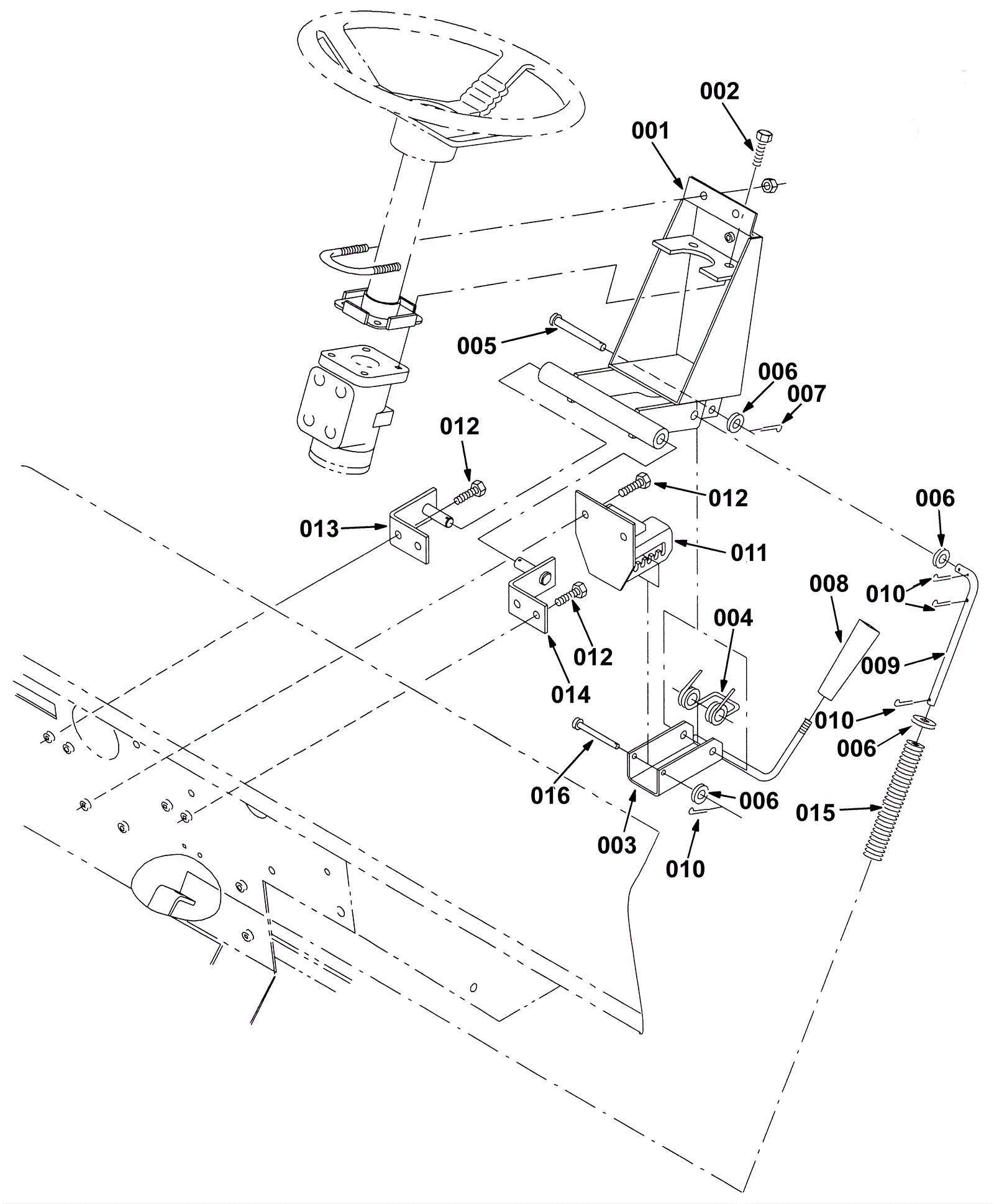
| # | Part | Description | Price | Req | Notes | Availability |
000 |
275-3967
|
Tilt steering kit (Tennant Industrial) (OBSOLETE) |
$392.00
|
1 |
(Includes 001 - 016) |
usually ships 1-5 days |
001 |
275-3968
|
BRACKET WLDT, VALVE (Tennant Industrial) |
$501.17
|
1 |
|
usually ships 1-5 days |
002 |
275-3969
|
SCREW, HEX, .38-16 X 1.25, SS (Tennant Industrial) |
$6.33
|
2 |
|
usually ships 1-5 days |
003 |
275-3970
|
LEVER WLDT, TILT (Tennant Industrial) |
$70.98
|
1 |
|
usually ships 1-5 days |
004 |
275-3971
|
SPRING, TORS, 0.54ID .11WIR 06.0COIL (Tennant Industrial) |
$10.67
|
1 |
|
usually ships 1-5 days |
005 |
173-1595
|
Clevis pin (OBSOLETE) |
$4.88
|
1 |
|
usually ships 10-13 days |
007 |
175-6176
|
Cotter pin |
$3.30
|
1 |
|
ships same day |
008 |
175-0570
|
KNOB, 1.12D 3.88L M08 X 1.25, PLSTC[TPR] (Tennant Industria |
$21.67
|
1 |
|
usually ships 1-5 days |
009 |
275-3972
|
ROD, L (Tennant Industrial) |
$35.01
|
1 |
|
usually ships 1-5 days |
010 |
175-3281
|
Cotter pin |
$3.30
|
4 |
|
usually ships 10-13 days |
011 |
275-3973
|
BRACKET WLDT, STEERING, NTCH (Tennant Industrial) |
$171.20
|
1 |
|
usually ships 1-5 days |
012 |
999-0783
|
Screw M8-1.25 x 16mm hex head |
$0.99
|
6 |
|
ships same day |
013 |
275-3974
|
BRACKET WLDT, MTG, STEERING (Tennant Industrial) |
$47.01
|
1 |
|
usually ships 1-5 days |
014 |
275-3975
|
BRACKET WLDT, MTG, STEERING (Tennant Industrial) |
$47.51
|
1 |
|
usually ships 1-5 days |
015 |
275-3976
|
SPRING, CMPR, 0.970D .11WIR 05.5L (Tennant Industrial) |
$20.84
|
1 |
|
usually ships 10-13 days |
016 |
175-0799
|
PIN, CLEVIS, 0.25D X 2.44L (Tennant Industrial) |
$6.67
|
1 |
|
usually ships 10-13 days |