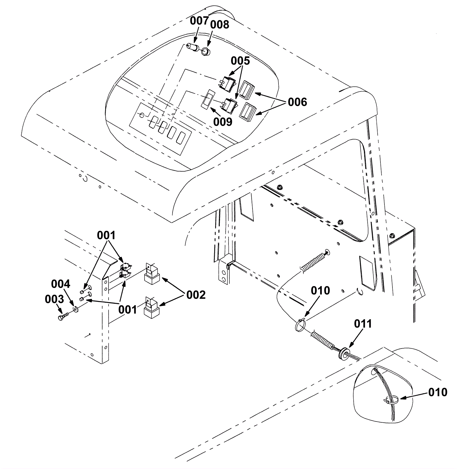
| # | Part | Description | Price | Req | Notes | Availability |
001 |
175-2151
|
30amp circuit breaker |
$16.61
|
2 |
|
ships same day |
002 |
175-5970
|
RELAY, 12VDC, 040A, SPDT NO (Tennant Industrial) |
$18.67
|
2 |
|
usually ships 1-5 days |
003 |
N/A
|
Not available |
Call for price
|
2 |
Screw |
usually ships 3-26 days |
004 |
275-0288
|
Washer 1/4 internal-external lock |
$4.36
|
2 |
|
ships same day |
005 |
175-9945
|
Rocker switch spst |
$22.88
|
2 |
|
usually ships 1-5 days |
006 |
175-9946
|
Rocker switch seal cover |
$19.47
|
2 |
|
usually ships 10-13 days |
007 |
175-5969
|
15amp circuit breaker (Tennant Industrial) |
$8.34
|
1 |
|
usually ships 10-13 days |
008 |
275-2596
|
Circuit breaker boot (Tennant Industrial) |
$20.84
|
1 |
|
ships same day |
009 |
275-3902
|
LABEL, INFO, A/C, ON-OFF (Tennant Industrial) (OBSOLETE) |
$13.88
|
1 |
|
usually ships 1-5 days |
010 |
175-2202
|
Nylon wire tie |
$4.49
|
10 |
|
ships same day |
011 |
275-3903
|
GROMMET, RBR, 0.69ID, F/1.0H, .25 MATL (Tennant Industrial) |
$5.33
|
1 |
|
usually ships 1-5 days |