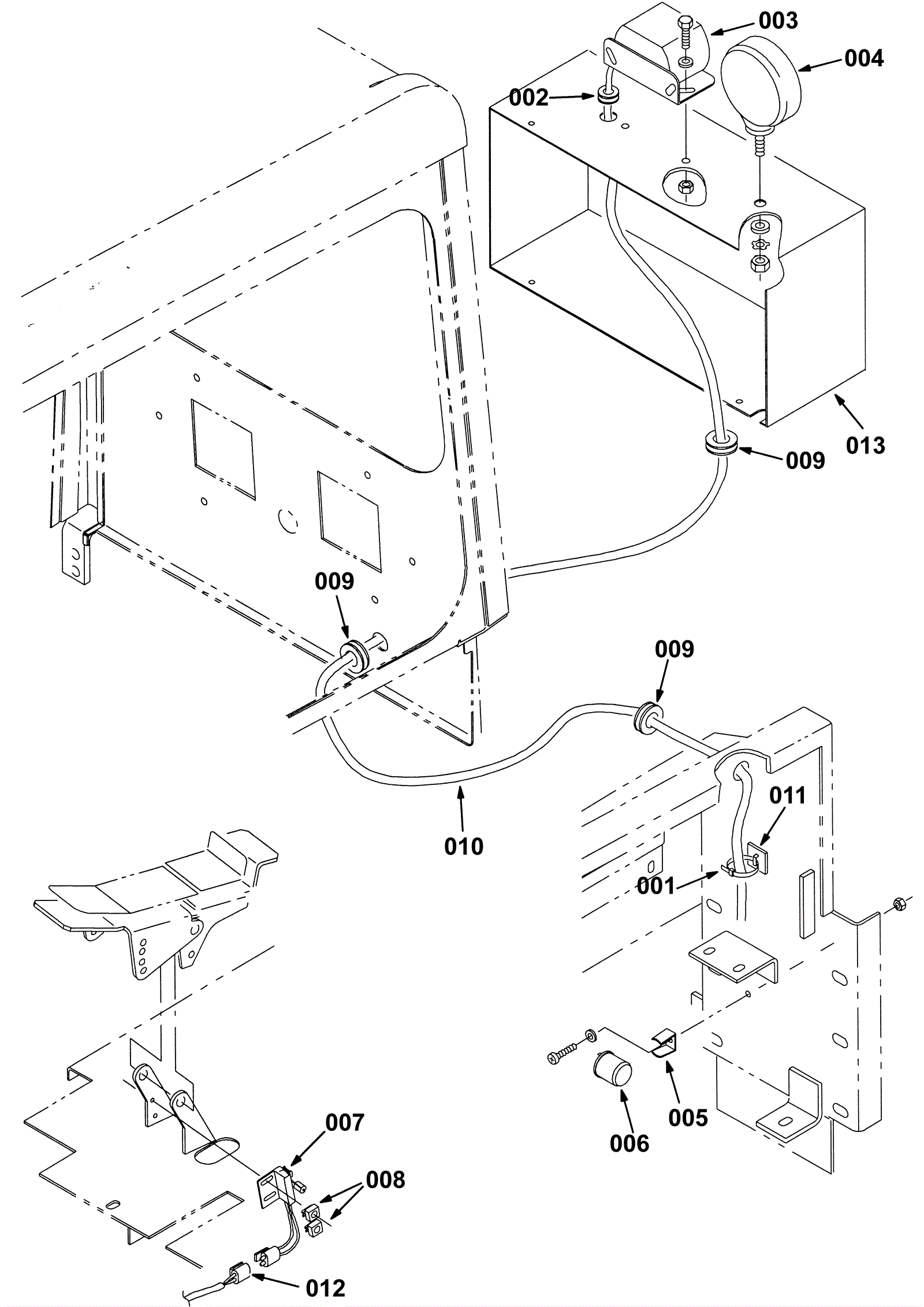
Back-Up Alarm Kit, Cab with Pressurizer
Click to enlarge