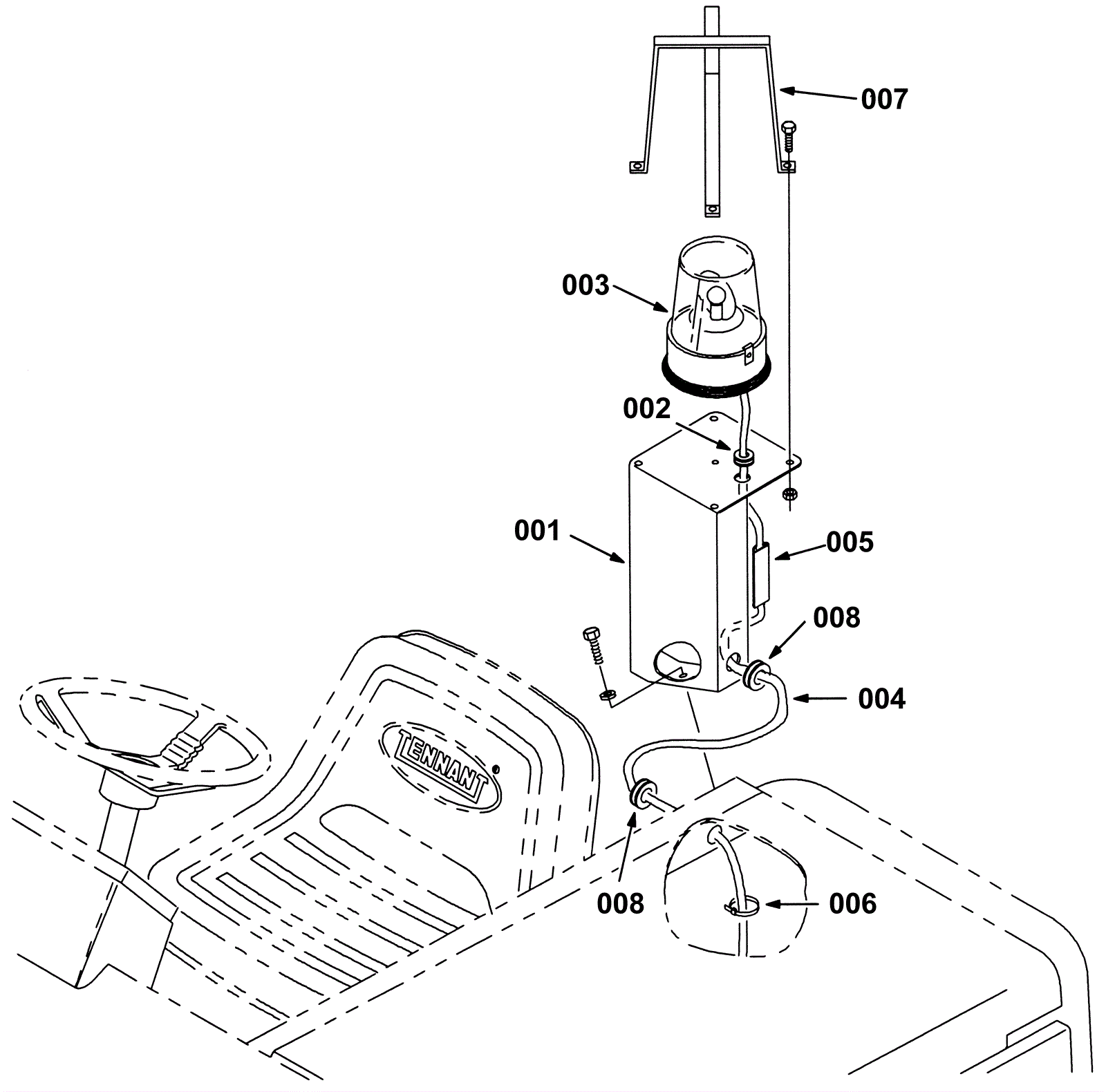
Flashing Light Kit, LRC 2
Click to enlarge