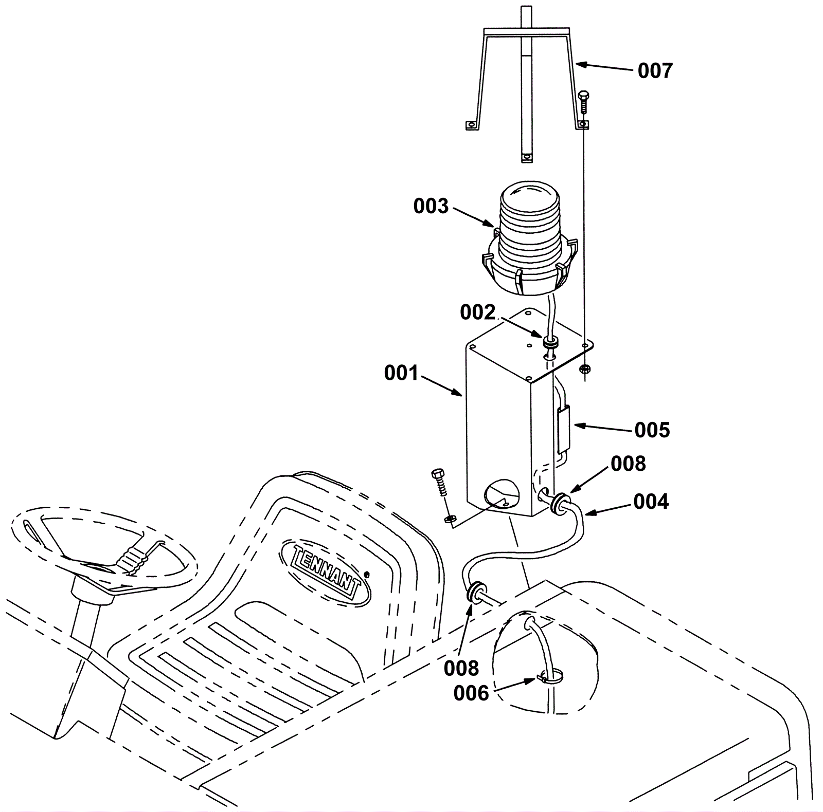
Flashing Light Kit, LRC 1
Click to enlarge