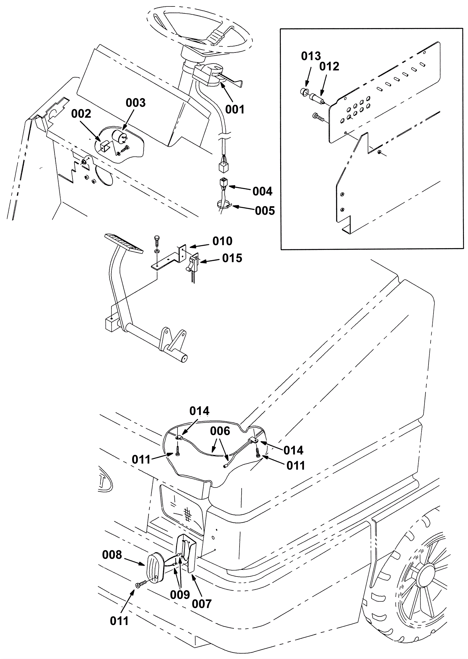
Signal Light Kit (Plastic Hopper)
Click to enlarge