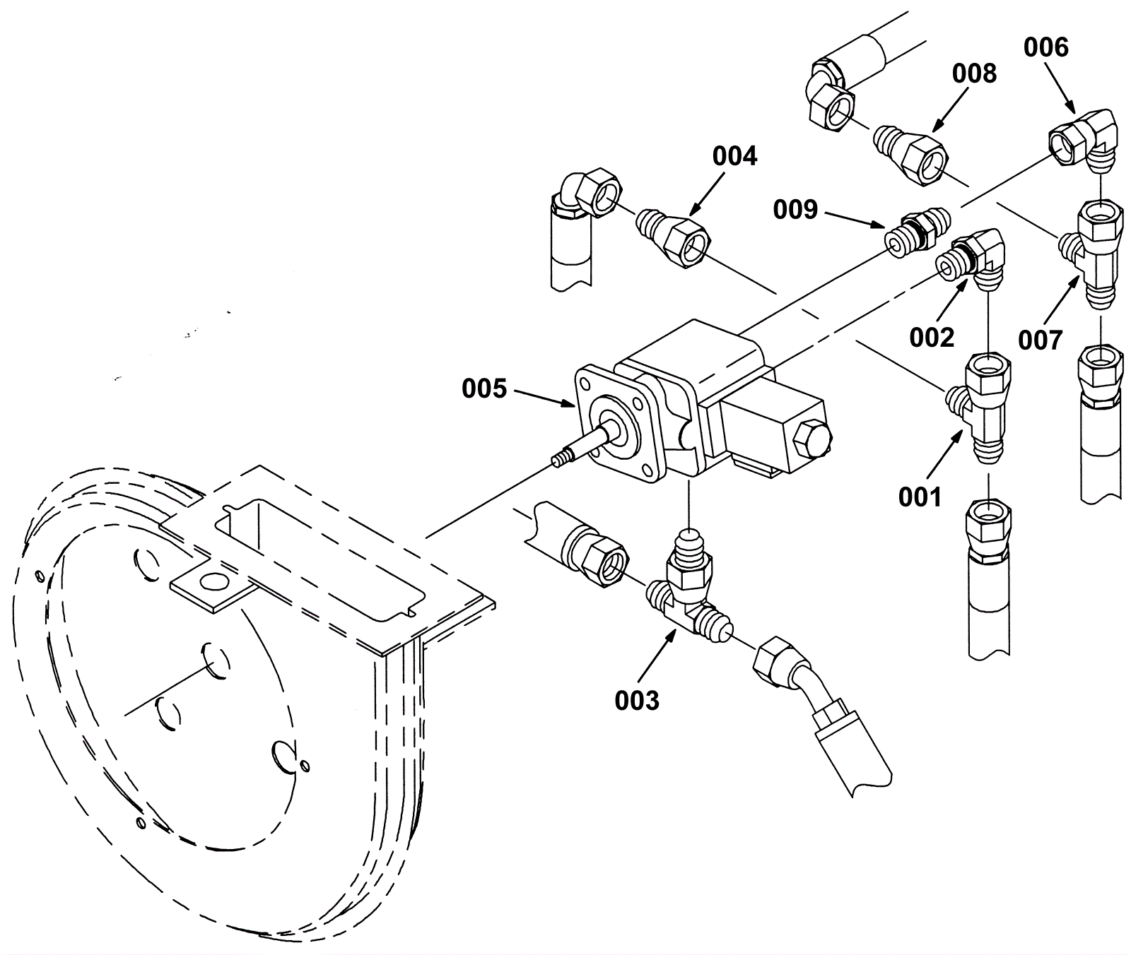
Vacuum Fan Motor and Fittings Group
Click to enlarge