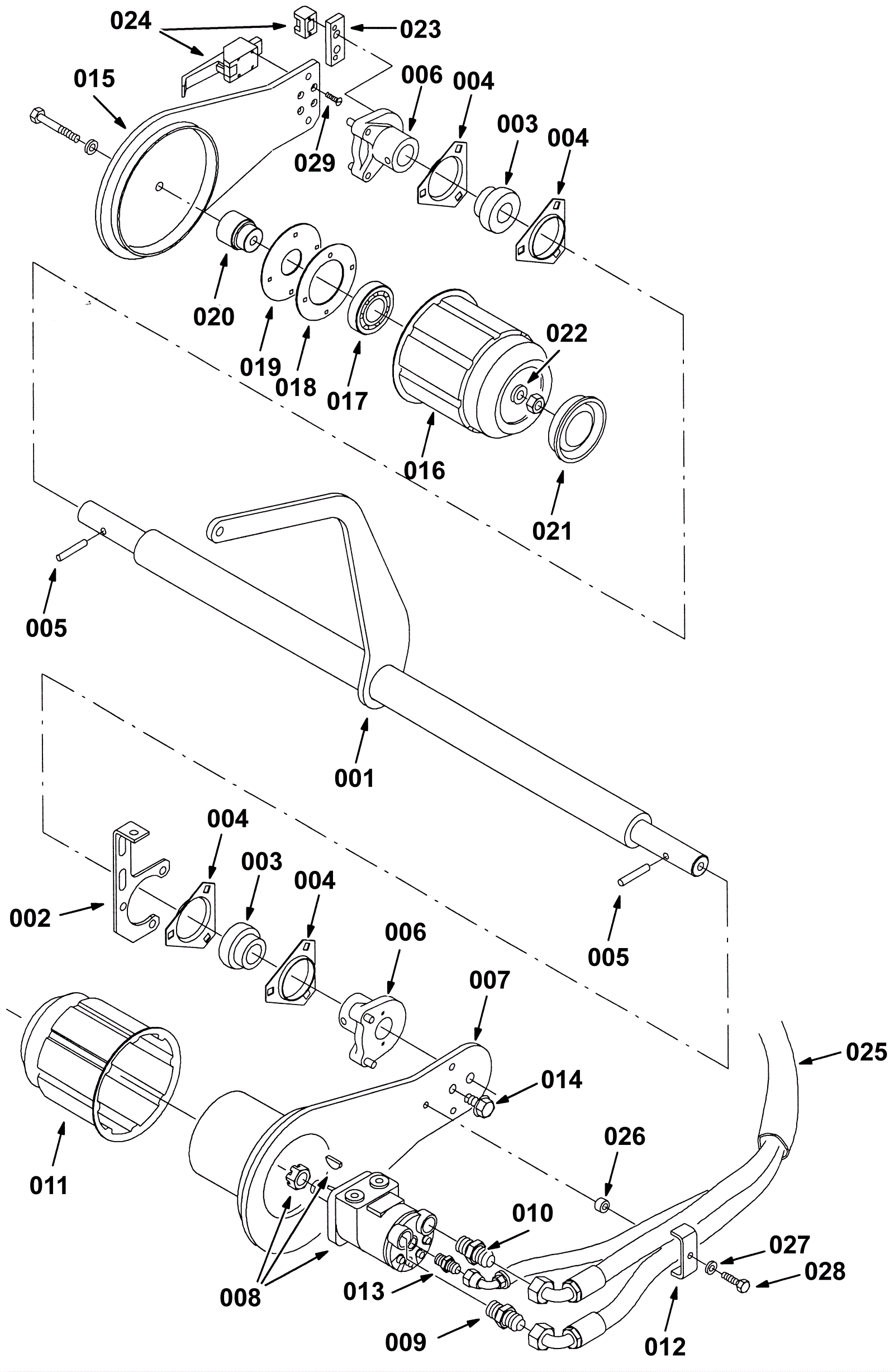
Main Brush Drive Group (000000-019999)
Click to enlarge