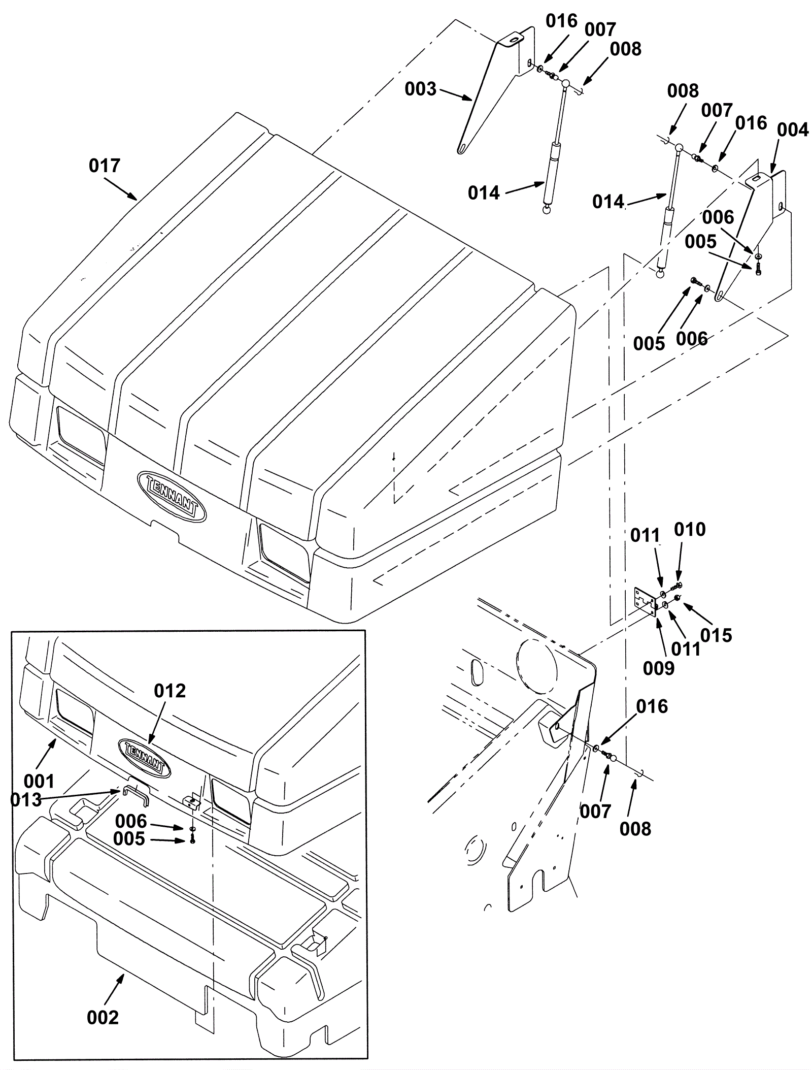
Hopper Hood Group (Plastic Hopper)
Click to enlarge