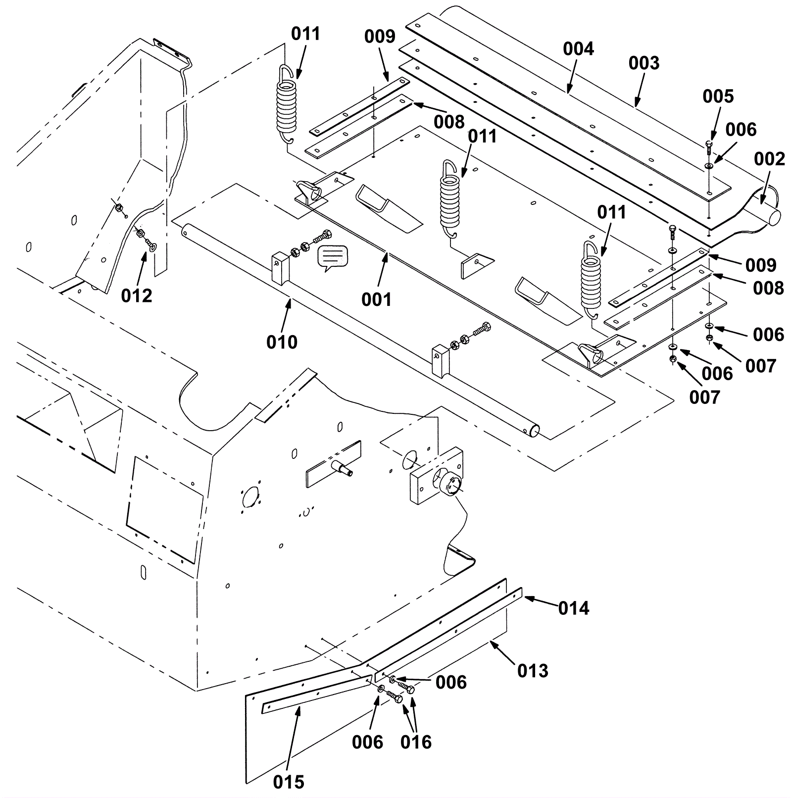
Hopper Dump Door Group (Metal Hopper)
Click to enlarge