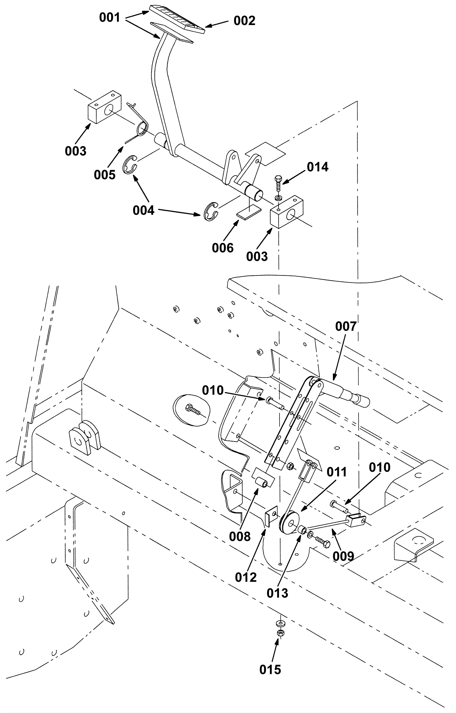
Brake Lever and Pedal Group
Click to enlarge