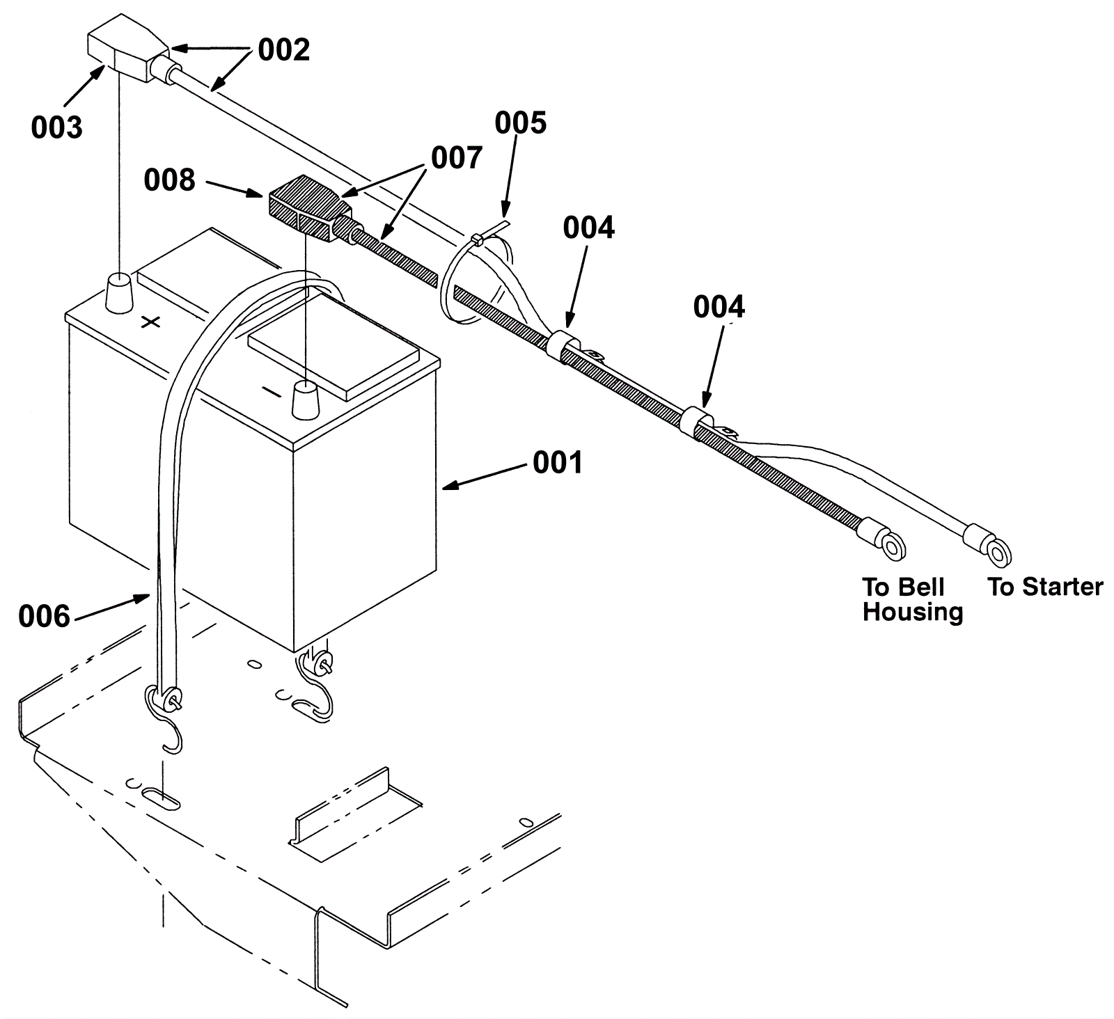
Battery Group, Gasoline
Click to enlarge