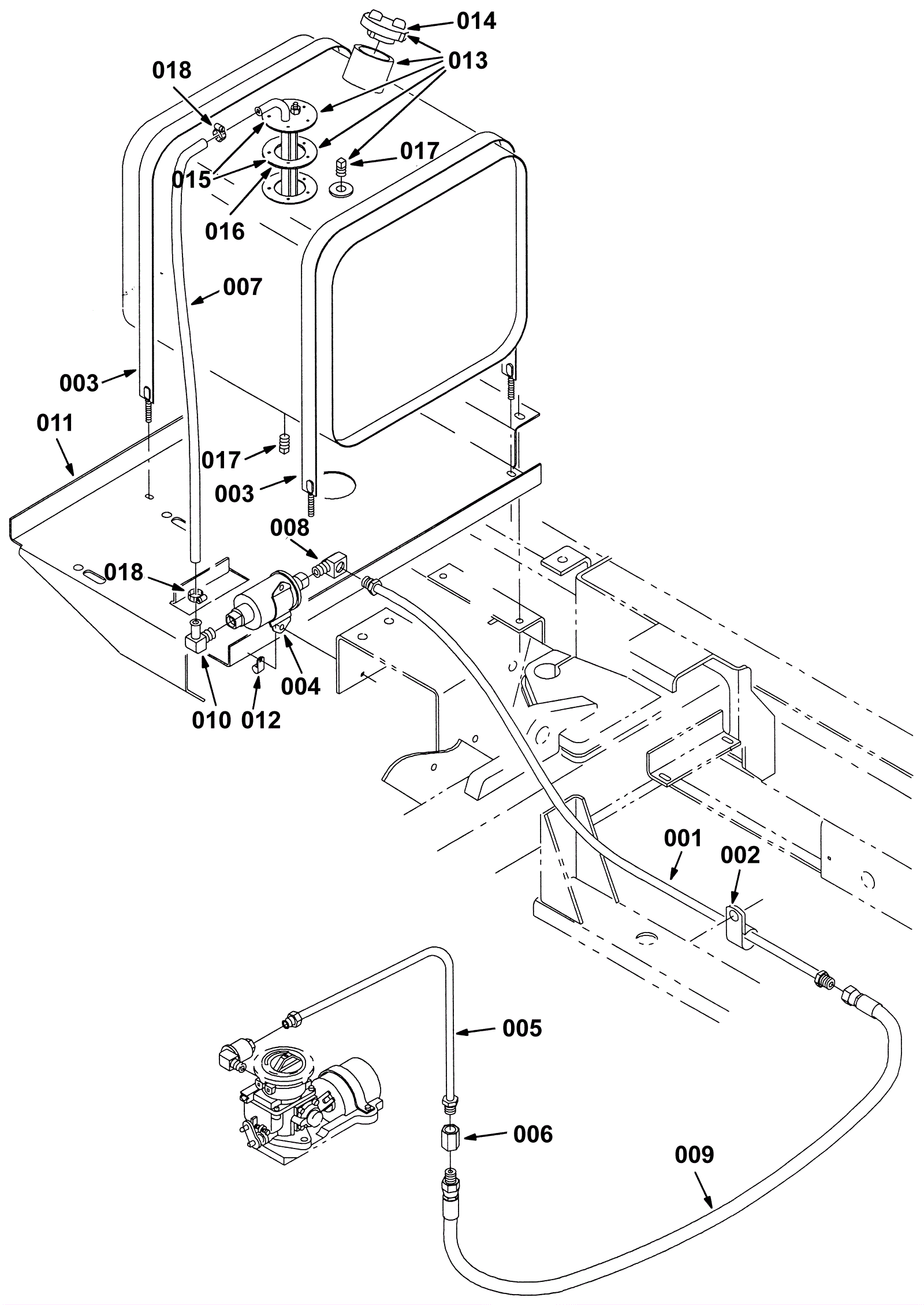
Fuel Tank Group, Gasoline
Click to enlarge