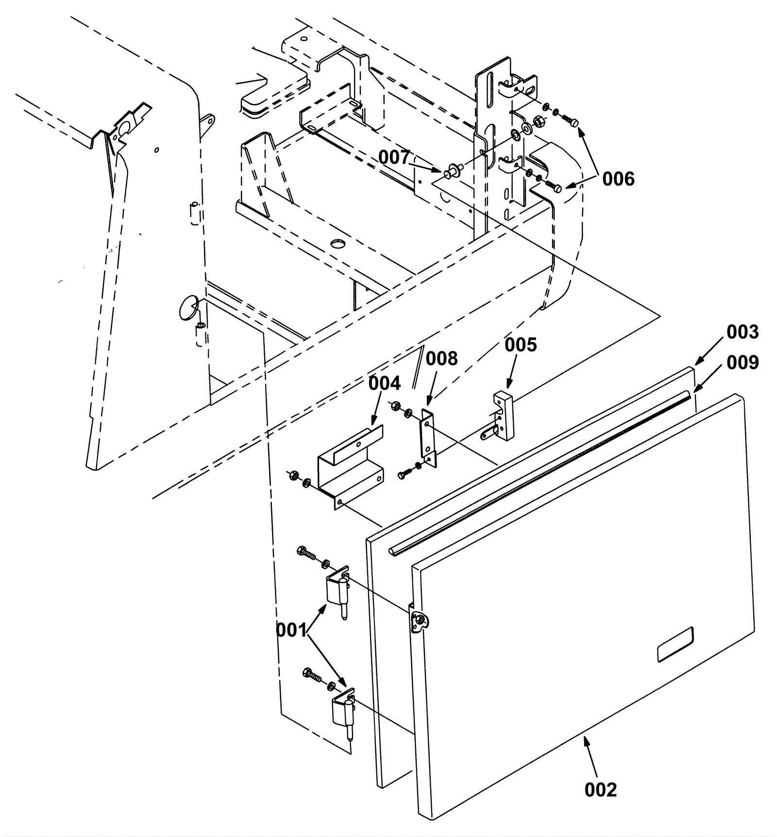
Engine Side Door Group
Click to enlarge