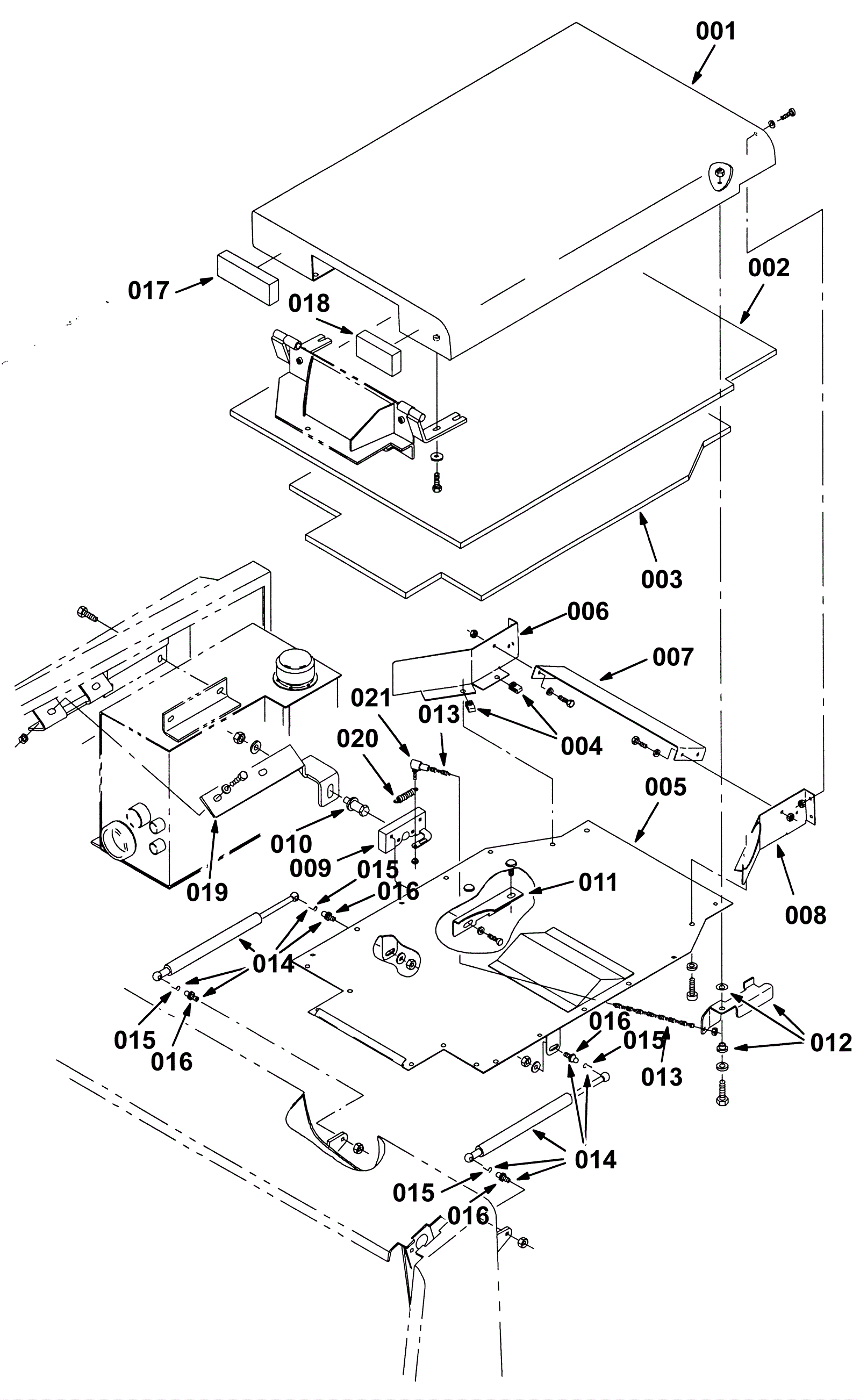
Engine Cover Group
Click to enlarge